贵州朗洲安全科技有限公司

Guizhou Langzhou Security Technology CO.Ltd

贵州松桃金瑞锰业有限责任公司松桃县白石溪锰矿(延续、变更)项目竣工环境保护验收调查报告公示

浏览数:890 
文章附图



                           

贵州松桃金瑞锰业有限责任公司

松桃县白石溪锰矿

(延续、变更)项目

竣工环境保护验收调查报告








项目名称:松桃县白石溪锰矿(延续、变更)项目

委托单位 :贵州松桃金瑞锰业有限责任公司








编制单位:贵州朗洲安全科技有限公司


二○一九年八月

目   录

TOC \o "1-2" \h \u 前言 1

1 综述 2

1.1任务由来 2

1.2 建设项目环境保护相关法律、法规和规章制度 2

1.3 其他相关文件 2

1.4 调查目的 3

1.5调查原则 3

1.6调查方法 3

1.7验收调查工作程序 4

1.8调查范围 5

1.9调查重点 5

1.10验收标准 5

2工程调查 9

2.1工程建设历程 9

2.2建设项目概况 9

2.2.1建设项目名称、规模及建设性质 9

2.2.2 交通地理位置及平面布置 10

2.2.3 项目组成 10

2.3矿区资源概况 12

2.3.1矿区境界 12

2.3.2矿区资源储量及服务年限 12

2.3.3矿区环境地址特征 12

2.4项目给排水 14

2.5生产工艺流程 15

2.6工程环保投资 16

2.7项目工程变动情况 17

3 环境影响报告书回顾 18

3.1环境影响报告书主要结论 18

3.2环境影响报告书批复 25

3.3环评及批复文件提出的环保措施落实情况 25

4生态影响调查 30

4.1生态环境现状调查 30

4.1.1植被现状调查 30

4.1.2动物资源现状 31

4.1.3土地利用现状 31

4.2环境保护措施落实情况调查 31

4.2.1施工期环境保护措施落实情况调查 31

4.2.2营运期环境保护措施落实情况调查 32

4.3调查小结与建议 32

5地下水环境影响调查 33

5.1地下水环境现状调查 33

5.2地下水环境影响调查 33

5.3 地下水环境保护措施落实情况调查 33

5.4 调查小结与建议 34

6地表水环境影响调查 35

6.1地表水环境现状调查 35

6.2地表水环境保护措施落实情况调查 35

6.2.1施工期环境保护措施调查 35

6.2.2营运期环境保护措施调查 35

6.3污染源调查与污废水监测 37

6.3.1水污染源调查 37

6.3.2水污染源监测 37

6.4调查小结及建议 49

7大气环境影响调查 50

7.1大气环境现状调查 50

7.2 大气环境保护措施落实情况调查 50

7.3 调查小结与建议 52

8声环境影响调查 53

8.1 声环境保护措施落实情况调查 53

8.2污染源调查 53

8.3 厂界噪声监测 53

8.4调查小结与建议. 54

9固体废弃物环境影响调查 55

9.1固体废弃物污染源调查 55

9.2 固体废物处置方式 55

9.3 调查小结 55

10环境管理及监测计划调查 56

10.1环境管理落实情况调查 56

10.2环境监测计划落实情况调查 56

10.3调查小结与建议 56

11公众意见调查 57

11.1调查目的 57

11.2 调查对象、方法及内容 57

11.3调查结果统计与分析 60

11.4 公众参与调查结论 60

12调查结论与建议 62

12.1 工程概况 62

12.2环境保护措施落实情况 62

12.3验收结论 65

12.4建议 65

附表:建设项目工程竣工环境保护“三同时”验收登记表 66

附图:

附图1 项目交通地理位置图;

附图2项目总平面图;

附图3 环境保护目标分布图;

附图4项目区域水系图;

附图5 验收监测布点图;

附图6现场采样图及环保措施图.

附件:

附件1环保竣工验收委托书;

附件2 关于对《贵州松桃金瑞锰业有限公司松桃县白石溪锰矿(延续、变更)环境影响报告书》的批复,黔环审[2019]21号;

附件3 关于对《贵州松桃金瑞锰业有限责任公司松桃县白石溪锰矿水土保持方案报告书》的批复,松水复[2018]46号;

附件4 关于金瑞新材料科技股份有限公司贵州分公司白石溪锰矿临时使用土地的批复,松国土资建临[2011]19号;

附件5 关于对金瑞新材料科技股份有限公司贵州分公司白石溪锰矿土地复垦方案及专家评审结论审核备案的通知,黔国土资耕保函[2010]473号;

附件6 危废处置协议;

附件7 废机油台账;

附件8营业执照;

附件9 采矿许可证;

附件10 业主承诺;

附件11 验收检测报告;

附件12 突发环境事件应急预案备案表;

附件13 公众参与调查问卷。



前言

贵州松桃金瑞锰业有限责任公司松桃县白石溪锰矿原矿山名为金瑞新材料科技股份有限公司贵州分公司白石溪锰矿,于2018 年   9 月变更为贵州松桃金瑞锰业有限责任公司松桃县白石溪锰矿,原设计开采规模为4万t/a,项目于2004年5月由中国江南航天工业集团公司环境影响评价工作室编制完成《金瑞新材料科技股份有限公司贵州分公司白石溪矿山4万吨/年新建项目环境影响评价报告书》,2004年5月27日取得“铜地环发[2004]7号”文件批复。2011年12月,铜仁市环境监测站以“铜环验[2012]1号文批复”对该项目进行了竣工环境保护验收。

为了扩大产能以满足市场需求,贵州松桃金瑞锰业有限责任公司松桃县白石溪锰矿开采规模扩能至10万t/a。根据《中华人民共和国环境保护法》、《中华人民共和国环境影响评价法》、国务院 1998 年第 253 号令《建设项目环境保护管理条例》的规定,本项目应进行环境影响评价工作。为此,贵州松桃金瑞锰业有限责任公司委托宁夏智诚安环技术咨询有限公司承担“贵州松桃金瑞锰业有限责任公司松桃县白石溪锰矿(延续、变更)项目”环境影响评价工作。宁夏智诚安环技术咨询有限公司于2019年2月完成《贵州松桃金瑞锰业有限责任公司松桃县白石溪锰矿(延续、变更)环境影响评价报告书》,2019年3月29日取得贵州省生态环境厅(黔环审 [2019]21号)批复。

根据《中华人民共和国环境保护法》及《建设项目竣工环境保护验收暂行办法》等有关规定,按照环境保护设施与主体工程同时设计、同时施工、同时投入使用的“三同时”制度要求,贵州松桃金瑞锰业有限责任公司松桃县白石溪锰矿于 2019 年 7 月委托贵州朗洲安全科技有限公司进行该项目竣工环境保护验收调查工作。

2019年7月,根据现场调查可知,目前该项目主体设施和与之配套的环境保护设施已基本建设完善且正常运行,矿山根据环评要求将原648工业场地职工搬迁至618工业场地(见附件10),生产工况满足验收要求,基本符合验收条件。

贵州朗洲安全科技有限公司遵照环境保护验收调查技术规范、环境影响评价导则和遵照环境保护验收调查技术规范、影响评价导则和相关环保法规,在研阅了项目环境影响报告书、初步设计、环境监理及竣工资料后,对受本项目影响的环境敏感目标、项目建设对生态影响及其恢复状况、水土保持情况、工程的污染源分布及其防治措施等方面进行了初步调查,并对项目污染物排放实施了现场监测,在上述工作基础上,编制了本工程竣工环境保护验收调查报告。

1 综述

1.1任务由来

根据《中华人民共和国环境影响评价法》、《建设项目环境保护管理条例》(国务院令第682号)、《建设项目竣工环境保护验收暂行办法》等有关规定,贵州松桃金瑞锰业有限责任公司松桃县白石溪锰矿(延续、变更)项目应编制竣工环境保护验收调查报告,2018年7月,贵州松桃金瑞锰业有限责任公司松桃县白石溪锰矿委托贵州朗洲安全科技有限公司开展《贵州松桃金瑞锰业有限责任公司松桃县白石溪锰矿(延续、变更)项目竣工环境保护验收调查报告》的编制及相关工作。委托书见附件1。

1.2 建设项目环境保护相关法律、法规和规章制度

(1)全国人大常委会《中华人民共和国环境保护法》,2014年4月;

(2)中华人民共和国主席令第七十号《中华人民共和国水污染防治法》,2018年1月1日实施;

(3)《中华人民共和国大气污染防治法》,2015年8月29日修订,自2016年1月1日起实施;

(4)《中华人民共和国环境噪声污染防治法》,1996年10月29日修订,自1997年3月1日起实施;

(5)《中华人民共和国固体废物污染环境防治法》,2016年11月7日修正;

(6)中华人民共和国国务院令第682号《建设项目环境保护管理条例》,2017年10月1日实施;

(7)中国环境保护部《建设项目竣工环境保护验收暂行办法》国环规环评[2017]4号,2017年11月20日。

(8)中国环境监测总站验字[2005]188 号《关于加强建设项目竣工环境保护验收监测工作中污染事故防范环境管理检查工作的通知》,2005年12月

(9)关于发布《建设项目竣工环境保护验收技术规范   生态影响类》的公告,生态环境部,2007年第80号。

1.3 其他相关文件

(1)《关于印发<污染源监测管理办法>的通知》原国家环境保护总局[1999]246号,1999年11月1日(实施);

(2)《大气污染物综合排放标准》 GB 16297-1996,1997年1月1日(实施);

(3)《工业企业厂界环境噪声排放标准》 GB 12348-2008,2008年10月1日(实施);

(4)《贵州省大气污染防治条例》2016年9月1日;

(5)《贵州省突发环境事件应急预案管理实施办法》2013年7月1日;

(6)《贵州松桃金瑞锰业有限责任公司松桃县白石溪锰矿(延续、变更)环境影响报告书》宁夏智诚安环技术咨询有限公司,2019年2月;

(7)关于《贵州松桃金瑞锰业有限责任公司松桃县白石溪锰矿(延续、变更)环境影响报告书》的批复,贵州省生态环境厅,黔环审[2019]21号。

1.4 调查目的

调查目的主要为对建设单位建设活动中环境保护执行情况进行检查,回顾工程产生的环境影响,对工程防治污染的环保设施运行情况、生态保护措施的实施及其效果进行全面的调查,为环境保护行政主管部门开展环境保护验收提供技术依据。

(1)调查本工程在工程设计、施工和试运营阶段落实设计文件和环境影响报告书所提出的环境保护措施的情况,以及对各级环境保护行政主管部门批复要求的落实情况;

(2)调查本工程已采取的生态防护、水土保持及污染控制措施,并通过对项目所在区域环境现状的监测结果,分析各项措施实施的有效性;针对该工程已产生的实际环境问题及可能存在的潜在环境影响,提出切实可行的补救措施和建议,对已实施的尚不完善的措施提出改进意见;

(3)根据工程环境影响情况的调查,客观、公正地从技术角度论证该项目是否符合工程竣工环境保护验收条件,并提出工程环境保护工作的建议,以利于工程运行期的环境保护和环境管理工作。

1.5调查原则

(1)认真贯彻国家和地方的环境保护法律、法规及有关规定;

(2)坚持污染防治与生态保护并重的原则;

(3)坚持客观、公正科学实用的原则;

(4)坚持充分利用已有资料与实地踏勘、现场调研状监测相结合的原则;

(5)坚持对项目建设前期、施工期、运营期环境影响进行全过程分析的原则。

1.6调查方法

目前该项目已建成并投入试运行,考虑到不同时期环境影响的方式、范围、程度不同,根据调查目的和内容,确定调查方法主要采用文件资料核实、现场踏勘、环境监测等技术手段。本次调查对不同内容采取的手段及方法又有所侧重。

(1)原则上按照国家环保总局《建设项目竣工境护验收技术规范 生态影响类》

(HJ/T394 -2007)中的要求执行;

(2)环境影响分析采用资料调研、现场查和状监测相结合的方法;

(3)现场调查采用“以点为主、点面结合、反馈全区”的方法;

(4)环境保护措施可行性分析采用改进已有措施与提出补救措施相结合的方法。

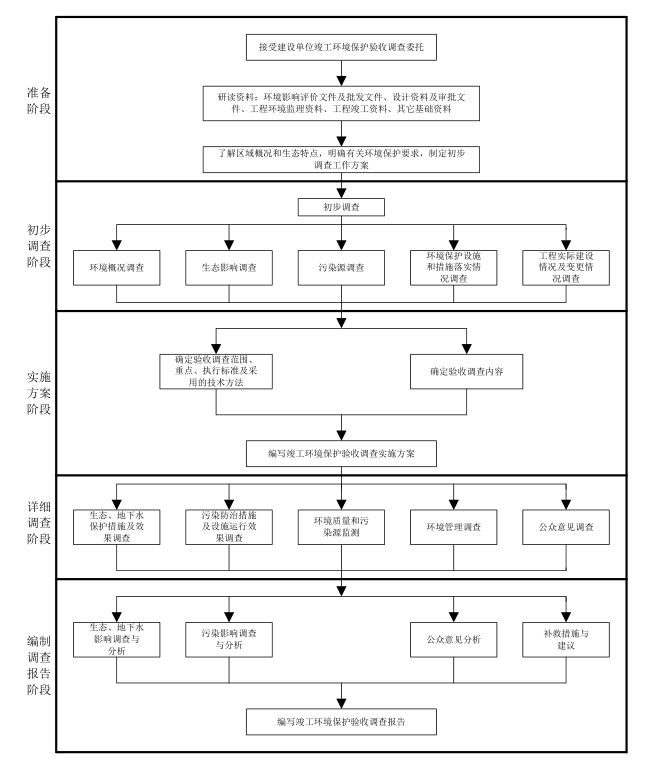
1.7验收调查工作程序


   

图1.1 验收调查工作程序图

1.8调查范围

本次竣工验收调查范围包括项目用地范围内及周边可能受到影响的自然环境和社会环境,原则上以环评报告书的评价范围作为验收调查范围,根据初步勘察了解到的现状做适当调整。具体如下

表1.8-1 环保验收调查范围


环境要素


环评阶段评价范围


验收阶段评价范围

变化情况及原因

生态环境

占地面积 1.4370km2 向外扩展 500m,评价范围 6.5129km2

无变化

/

地表水环境

小溪沟、大河堰小溪及坪南河,矿山排污口上游 200m 至下游 1.0km。


无变化


/

地下水环境

评价区内3 口无饮用水功能井泉

无变化

/

环境空气

以工业场地为中心,边长为 5km 的矩形范围,重点为工业场地外 200m、运矿道路中心两侧各 200m 范围。


无变化

/

声环境

场地厂界外 200m、运矿道路中心两侧各 200m 范围。

无变化

/

环境风险

废石场下游2km

无变化

/

1.9调查重点

本次验收调查的重点是本项目建设造成的生态环境、水环境影响、大气环境影响、生态环境影响、固体废物影响,以及环境影响报告书及设计中提出的各项环境保护措施落实情况及有效性,并根据调查结果提出环境保护补救措施。

1.10验收标准

本次验收环境影响调查标准原则上采用该项工程环境影响评价时所采用的标准,对已修订的标准则采用替代后的新标准进行校核。本次调查设计的标准具体如下:

1.10.1环境质量标准

(1)环境空气:评价区环境空气属GB3095-1996《环境空气质量标准》二类区,执行二级标准。

(2)地表水环境:《地表水环境质量标准》(GB3838―2002)Ⅲ类标准;

(3)地下水环境:《地下水质量标准》(GB/T14848-2017)Ⅲ类标准;

(4)声环境:《声环境质量标准》(GB3096—2008)2 类区标准.。具体标准值见表1.10-1。

表1.10-1 环境质量标准

环境要素


标准名称及级(类)别


项目

标准值

单位

数值







环境空气



《环境空气质量标准》

(GB3095-2012)二级标准


SO2





ug/m3

1 小时平均

500

日平均

150

年平均

60


NO2

1 小时平均

200

日平均

80

年平均

40

PM10

日平均

150

年平均

70

PM2.5

日平均

75

年平均

35






地表水环境







《地表水环境质量标准》

(GB3838-2002)Ⅲ类标准

pH








mg/L

6~9

COD

≤20

BOD5

≤4

NH3-N

≤1.0

总磷

≤0.2

氟化物

≤1.0

≤0.3

≤0.1

石油类

≤0.05

≤0.05

≤0.05

≤0.0001





地下水环境






《地下水质量标准》

(GB/T14848-2017)Ⅲ类标准

pH







mg/L

6.5~8.5

总硬度

≤450

溶解性总固体

≤1000

氟化物

≤1.0

硫酸盐

≤250

≤0.3

≤0.1

≤0.01

≤0.01

耗氧量

≤3.0

总大肠菌群

≤3 CUF/100mL

环境噪声

《声环境质量标准》

(GB3096-2008)2 类标准


等效声级


dB(A)

昼间60

夜间50


1.10.2 排放标准

(1)废水:项目主要产生废水为矿坑水及生活污水,矿坑水经调节池、混凝沉淀、一级曝气、一级锰砂过滤工艺处理后水质达《污水综合排放标准》(GB8978-1996)一级标准要求排放,Fe执行《贵州省环境污染物排放标准》(DB52/864-2013)一级标准要求排放;生活污水经一体化污水处理设施达《污水综合排放标准》)(GB8978-1996)一级标准要求排放。

(2)废气:无组织粉尘执行《大气污染物综合排放标准》(GB16297-1996)表 2中其他颗粒物无组织排放监控浓度限值;

(3)噪声:施工期执行《建筑施工场界环境噪声排放标准》(GB12523-2011)标准,营运期项目边界执行《工业企业厂界环境噪声排放标准》(GB12348-2008)中 2 类标准;

(4)固体废物:执行《一般工业固体废物贮存、处置场污染控制标准》(GB18599—2001)及2013年修改单;《危险废物贮存污染物控制标准》(GB18597-2001)及 2013 年修改单。

     具体标准值见表1.10-2。

表1.10-2 污染物排放标准


环境要素


标准名称及级(类)别


项 目

标准值

单位

数 值


废气


《大气污染物综合排放标准》(GB16297-1996)表 2 标准无组织排放监控浓度限值


颗粒物


mg/m3


1.0

周界外浓度最高点














废水



《 污 水 综 合 排 放 标 准 》

(GB8978-1996)表 1 标准

总汞




mg/l

0.05













污水评价标准

总镉

0.1

1.5

总砷

0.5

总铅

1.0







《 污 水 综 合 排 放 标 准 》

(GB8978-1996)表 4 一级标准

pH 值

无量纲

   6~9

悬浮物







mg/l

70

化学需氧量

100

氨氮

15

BOD5

20

石油类

5.0

硫化物

1.0

总锰

2.0

总铜

0.5

总锌

2.0

《贵州省环境污染物排放标准》

(DB52/864-2013)一级标准


Fe


mg/l

1.0






噪声

《工业企业厂界环境噪声排放标准》(GB12348―2008)2 类区标准



   噪声



dB(A)

昼间

60


厂界外

1m


夜间


50


《建筑施工场界环境噪声排放标准》(GB 12523-2011)



噪声



dB(A)

昼间

70

施工场界外 1m


夜间


55


固体废物


《一般工业固体废物贮存、处置场污染控制标准》(GB18599-2001)及 2013 修改单

《危险废物贮存污染控制标准》(GB18597-2001)及 2013 修改单



2工程调查

2.1工程建设历程

2004年5月,中国江南航天工业集团公司环境影响评价室编制完成了《金瑞新材料科技股份有限公司贵州分公司白石溪矿山 4 万吨/年新建项目环境影响评价报告书》;

2004年5月27日,铜仁地区环境保护局以“铜地环发[2004]7 号”文件对《金瑞新材料科技股份有限公司贵州分公司白石溪矿山 4 万吨/年新建项目环境影响评价报告书》环评报告书进行了批复;2004年12月开工建设,于2006年4月建成并投入试运行;

2011年12月,委托铜仁市环境监测站对项目环保设施建设和管理情况进行了全面检查,并对污染物排放情况进行了验收监测,并出具了《金瑞新材料科技股份有限公司贵州分公司白石溪矿山 4 万吨/年新建项目竣工环境保护验收监测报告》(铜地环监报[2011]YS13 号);

2012年3月30日,铜仁市环境保护局以“铜环验[2012]1 号文”批复同意项目通过竣工环境保护验收;

2012年7月,贵州省有色金属和核工业地质勘查局三总队编制《金瑞新材料科技股份有限公司贵州分公司松桃县白石溪锰矿资源/储量核实及勘探报告》;

2013 年 11 月编制开发利用方案,并于 2014 年 5 月取得了10 万吨/年的采矿许可证(编号:C5200002012102120127321);

2018年10月21日,取得关于对《贵州松桃金瑞锰业有限责任公司松桃县白石溪锰矿水土保持方案报告书》的批复,松水复[2018]46号;见附件3

2019年2月,委托宁夏智诚安环技术咨询有限公司编制《贵州松桃金瑞锰业有限责任公司松桃县白石溪锰矿(延续、变更)环境影响报告书》;

2019年3月29日,贵州省生态环境厅以“黔环审[2019]21号”文件对《贵州松桃金瑞锰业有限责任公司松桃县白石溪锰矿(延续、变更)环境影响报告书》进行了批复;见附件2

2019年6月底,项目建成并投入调试运行阶段。

2.2建设项目概况

2.2.1建设项目名称、规模及建设性质

项目名称:贵州松桃金瑞锰业有限责任公司松桃县白石溪锰矿(延续、变更);

建设单位:贵州松桃金瑞锰业有限责任公司;

建设地点:铜仁市松桃县孟溪镇铜钱山村;

项目性质:改扩建;

建设规模:开采能力10万t/a;

服务年限:13.8a。

2.2.2 交通地理位置及平面布置

松桃金瑞白石溪锰矿位于松桃县城南西方向,直线距离 28km 处,行政区划属松桃县孟溪镇所管辖,矿区地理坐标:东经 108°53′21″-108°54′20″;北纬 28° 03′03″-28°03′54″。松桃金瑞白石溪锰矿距松桃县城公路里程 45km,矿区距孟溪镇火车站 8km,矿区内现已修建一条简易公路直通孟溪火车站,交通基本能满足矿山采矿生产生活需要。项目交通地理位置见附图1。

本项目 618 工业场地占地 6.25hm2,矿方于 2008 年建成,距离矿区东侧约 1.3km, 通过 618 平硐与矿区连接。其排污路径位于道塘水库下游,可切实杜绝和减缓对道塘水库水质的影响。现进场公路利用原有道路,减少了新增土地,符合节约用地的原则, 为本矿区最主要的生活生产区,设置有 618 平硐口、主斜井井口、618 矿坪、624 矿坪、精矿坪、破碎车间(已验收)、污水处理站(矿坑水污水处理设施、生活污水一体化处理设施)、井口值班室、废机油暂存处、矿山办公用房、职工食堂浴室等。项目废石场、拦渣坝位于618工业场地东北侧。拦渣坝下游设淋溶水收集池,工业场地两侧为矿山雨水沟渠。项目平面布置见附图2。

2.2.3 项目组成

贵州松桃金瑞锰业有限责任公司白石溪锰矿(延续、变更)主要组成及建设情况见表2.2-1。

表2.2-1 项目组成一览表表

工程分类

项 目 组 成

工 程 内 容

备注























井下主体工程



主盲斜井

主盲斜井布置在矿层底板内,为原有井筒, 倾角 25°m ,净断面 7.98m3,主绞车房位于

637 水平,落底为 480 标高。主要作为回风、


改造利用


运输、排水之用



副盲斜井为改造以及形成的 8#上山,以及形



成了 600 中段至 530 中段之间的巷道,需要


副盲斜井

进行扩帮修护,设计沿脉布置到 480 中段有

已建


施工联络巷与 4800 中段平巷相连通,主要作



为进风、及安全行人之用



井口坐标 X=3105240.00Y=36590207.60


618 平硐

井口标高为+470m,井口标高:+618m,井

筒净断面 7.98m2,为无轨运输巷道,主要负

利用原有,运输

及排水平硐


责矿山矿石运输和排水任务。



井口坐标X3104848.94Y=36587877.62628



628 平硐

平硐布置位于矿区西部矿体底板内,为原有

井筒, 井口标高: + 628.m, 井筒净断面5.75m2,为无轨运输巷道,主要负责矿山进

利用原有,进风平硐


风和排水任务



井口坐标 X=3104771.39Y=36587989.70



648 平硐

648   平硐为沿脉布置,为原有井筒,井口标

高:+648m,井筒净断面 6m2,为无轨运输巷道,通过斜坡道与 618 平硐相连通,主要


利用原有,进风平硐


承担材料、人员以及 618 工业广场和 648



硐工业广场的联系任务



井口坐标 X=3104748.49Y=36588094.76



680 平硐

680   回风平硐为沿脉布置,为原有井筒,井

口标高:+680m,井筒净断面 7.89m2,为无轨运输巷道,通过回风联络巷与主盲斜井相

利用原有,回风平硐


连通,主要回风任务




地面生产系统



储存转运矿石;面积:800m2,容量:2400m3



618 矿坪

采用棚架式半封闭结构,未硬化,截排水措

改造利用



施不完善




储存转运矿石:面积:500m2,容量:1500m3



624 矿坪

采用棚架式半封闭结构,未硬化,截排水措

改造利用

618 工业广场


施不完善




储存转运矿石:面积:800m2,容量:2400m3



精矿坪

采用棚架式半封闭结构,未硬化,截排水措

改造利用



施不完善



压风机房

占地面积 20 m2

利用原有


通风机

位于主盲斜井,辅助通风

利用原有




通风机

位于+680m 回风平硐,辅助通风

利用原有

648 工业广

炸药库

炸药 3t,雷管 2000

利用原有


废石场

废石场位于矿区最东侧,废石采用汽车运输至废石场。废石场库容量约 28 m3,目前已填埋废石 14.41 m3,剩余库容 13.59

m3,矿山年产废石约1.0 m3,服务年限13.6a


改造利用原有

辅助工程

井口值班室

井口值班,面积:10m2

利用原有

机修车间

承担矿山机电设备日常检修和维护,面积:

50m2,含危废间暂存间及油脂库 5m2

改造利用,搬迁

618 工业广场

材料库房

存放矿山生产耗材,面积:30m2

利用原有









公用工程

行政公共建筑

矿山办公室、管理人员宿舍

矿山办公、住宿等;占地面积:300m2


利用原有


供电系统

电源引自当地 10kV 电网


利用原有


供水系统

618 工业广场生活用水采用广场旁小溪沟, 小溪沟主要靠大气降雨及地下水补给,采用管道引致各用水区,多余部分采用涵管引致

下游汇入大河堰小溪,最终进入坪南河


利用原有


化粪池

少量管理人员生活污水预处理,后通过专用排污管线排至生活污水处理站处理


利用原有

废水收排系统

场地淋滤水收集池 100m3

利用原有




环保工程

生活污水处理站

地埋式一体化污水处理设施 10t/d(生物接触氧化法)

改造利用


矿井水处理站

采用“调节池+混凝沉淀+一级曝气+一级锰砂过滤”工艺处理,处置规模 95m3/h2280

m3/d

调节池、曝气池利用原有改造

在线监控设施

流量计、PHCODNH3-NMn 等在线监

控设备

已建

2.3矿区资源概况

2.3.1矿区境界

松桃金瑞白石溪锰矿为扩能不扩界的延续、变更矿山,根据贵州省国土资源厅颁发的原采矿证许可证 10 万吨/年(编号:C5200002012102120127321),矿山矿界范围由 5 个拐点圈定,矿井为平硐开拓,开采深度:+830—+400m,矿区面积:1.3719km2, 目前开采深度已达+600。+650m 标高以上矿体已基本采完,矿井采用房柱式采矿方法, 采用无轨机车运输,矿区范围拐点坐标见表2.3-1。

表2.3-1 矿区范围拐点坐标

坐标系

北京 54 坐标系

西安 80 坐标系

点号

X

Y

X

Y

1

3105020.00

36589035.00

3104963.626

36588963.22

2

3106060.00

36588465.00

3106003.633

36588393.22

3

3105105.00

36587435.00

3105048.63

36587363.211

4

3104450.00

36587820.00

3104393.625

36587748.212

5

3104615.00

36588370.00

3104558.625

36588298.215

开采深度:+830~+400m 标高矿区面积:1.3719km2

2.3.2矿区资源储量及服务年限

根据贵州省有色金属和核工业地质勘查局三总队2012年7月编制的《金瑞新材料科技股份有限公司贵州分公司松桃县白石溪锰矿资源/储量核实及勘查报告》显示白石溪锰矿矿山设计可采储量为124.45万t,矿山服务年限=可采储量/[设计生产规模×(1-矿石贫化率)]=124.45/[10×(1 -10%)]≈13.8(a)矿山服务年限:13.8a

2.3.3矿区环境地址特征

(1)地形地貌

矿区地形南西高,北东低,多呈北东东走向的单面山,海拔最高 1080.3m,最低535.3m,相对高差 545m,一般高差 325m,地形切割强烈,植被发育,森林茂密。

(2)地层及地质构造

构造

白石溪矿段位于梵净山穹状背斜北东缘,即木耳压扭性断层与金子山背斜之间。区内构造简单,总体上为一单斜构造,矿段位于单斜构造内,地层走向北东,倾向北西,倾角 15-33°。有一条北东向的正断层从矿区的北西侧穿过其编号为 F1,断层走向北东向延伸,倾角 75—80°,断距 20-35m。

在地表可见破碎带宽 2m 左右,充填物有白云石脉,角砾岩被泥质胶结,未见泉水出露,为不含水断层或弱含水断层,导水性一般,上覆含水层的裂隙水及溪沟、河流水可能通过断层破碎带对充水含水层进行补充或直接造成矿井充水。

地层

矿区内出露的有南华系南陀组、大塘坡组、铁丝坳组、两界河组地层,现分述如下:

南华系上统南沱组(Nh2n

黄绿色、灰绿色厚层块状冰绩砾岩,上部夹砾砂岩、含砾砂岩、含砾粘土岩,偶夹粉砂质页岩。中下部夹有浅灰色、灰色砂白云岩透镜体。砾石呈次棱角——半滚圆状,大小不等,成分复杂,具球状风化。厚大于 50m。

南华系下统大塘坡组(Nh1dt)按岩性特征分为两段。

第二段(Z1dt2):上部为灰至深灰色薄——中层层纹状粉砂质页岩及灰色薄—— 中层粘土岩夹粉砂质页岩,中层层纹状粉砂质页岩,偶见层纹状粉砂岩及常见滑塌构造(乱层纹),中层粘土岩夹粉砂质页岩,局部具层纹状构造。中部为灰色、灰黑色薄至中层含炭质条带粘土岩、粉砂质粘土岩夹粘土页岩、含砂质页岩,下部夹炭质页岩。由上至下炭质含量渐增。厚 96.13—289.35m。

第一段(Nh1dt1):黑色炭质页岩,间夹 2-4 层含星点状黄铁矿的浅灰色粘土岩。

下部为深色、钢灰色薄——中层块状和条带状炭质菱锰矿,平均厚度 0.33—2.45m。一般在工业矿体边缘或无工业矿体地段,含锰岩系变薄至尖灭,菱锰矿层为砂质白云岩取代。称含锰岩系。厚 7.35—22.37m。

南华系下统铁丝坳组(Nh1t

上部为黑色含砂砾炭质砂岩、炭质砂岩,其下为黑色炭质页岩夹条带状菱锰矿透镜体,菱锰矿层厚 0.29m。中部为灰色中层细砂岩或粘土岩,具斜层理。下部为黄绿色厚层砂质杂砾岩。在矿体边缘,一般下冰绩岩段厚度变薄,岩石组合趋于简单,为白云质砂岩、砾岩。厚 3.55—19.11m。

南华系下统两界河组(Nh1lj

底部为中层含砾绿泥石夹长石砂岩。下部为灰绿色板岩、细砂岩、偶夹炭质砂岩及长石砂岩。中部为灰绿色板岩、灰色粉砂岩,偶夹灰白色石英砂岩。上部为灰色薄至厚层粉砂岩夹灰色凝灰质砂岩及绿泥石杂砂岩。厚大于 100m。

矿区环境地质现状

根据建设项目的贵州省松桃县松桃金瑞白石溪锰矿资源储量核实报告及现场勘查,评估区内尚未发现滑坡、崩塌、泥石流、地裂缝、地面塌陷等地质灾害,评估区现状地质灾害不发育。

2.4项目给排水

1、给水

目前采用矿区西侧的小溪沟作为生活、生产用水;小溪沟一般流量 26136m3/昼夜, 枯水季节流量为:10990.08m3/昼夜,为常年观测流量,可满足生活和生产要求,多余采用涵管接至矿区外排放。

2、排水

项目生活污水经矿区一体化污水处理设施处理达《污水综合排放标准》(GB8978-1996)一级标准要求后排放;矿坑水经“调节池+一体化污水处理设施(混凝沉淀+一级曝气+一级锰砂过滤)”工艺处理后达《污水综合排放标准》(GB8978-1996)一级标准要求(Fe满足《贵州省环境污染物排放标准》(DB52/864-2013)一级标准要求),部分矿坑水回用,剩余部分排入小溪沟。雨水通过矿区周边雨水沟渠流入废石场下游收集池后排放。


2.5生产工艺流程

生产工艺流程及排污节点分析见图2-1。


图2-1 生产工艺流程及排污节点示意图

地面生产系统工艺流程

采矿工艺:打眼—爆破—耙矿—装车—运输。

锰矿地面生产系统工艺流程见图2.2


图2.2锰矿地面生产系统工艺流程图

矿山主要设备见表2.5-1

表2.5-1 矿山主要设备一览表

序号

设备名称

型号

主要技术参数

数量

备注

1

采场工作面设备

(1)

电粑绞车

2DPJ-30 型

30kw

6 台

4 用 2 备

(2)

液压耙渣机

ZWY—60/15

15kw

2 台


3

凿岩机

YT-24 型


19 台

12 用 7 备

2

运输设备

(1)

主盲斜井: 绞车提升

JK2.0×1.5p

绳速Vp=3.2m/s,配

套电机功率 185kW

1 台

1 用

(2)

井下平巷:柴油拖拉机

宗南—18Y

4t

8 台

6 用 2 备

(3)

618 平硐:柴油拖拉机

宗南—18Y

6t

4 台

3 用 1 备

3

通风设备

(1)

风机

FBCDZ-6-№16B

28.3~62.8m3/s

2 台

1 用 1 备

(2)

局部通风机

YBT№4.0/5.5Ⅱ

105~160m³/min

10 台


(2)

防爆电动机

YBFe-315S-6

2×75kw

2 台

1 用 1 备

4

压风设备

(1)

空压机

开山牌 VF—7/7

7 m3/min

2 台

1 用 1 备

(2)

移动式空压机

GA—22D

3.6 m3/min

12 台

6 用 6 备

5

排水设备





(1)

水泵

MD85-45×5

(SL)型

流量 85m3/h,扬程

225m

3 台

1 用 1 备1 检

2.6工程环保投资

本项目建设实际总投资1984.88万元,环保工程投资162.3万元,项目环保工程投资占项目基建总投资的比例为8.18%。

表2.6-1 松桃金瑞白石溪锰矿环境保护投资一览表

序号

环保设施

投资(万元)

实际环保投资(万元)

1

矿山污废水处理

/

/

(1)

矿坑水处理站(调节池+混凝沉淀+一级曝气+一级锰砂过滤)

80.0

80.0

(2)

生活污水处理站(一体化)

---

10.0

(3)

化粪池

---

0

(4)

废石场淋滤水池(1 个)

---

0

(5)

隔油池 1 个(1m3

1.0

1.0

(6)

事故池 1 个

15.0

10

(7)

在线监控 1 套(流量计、PH、

COD、NH3-N、Mn)

20.0

20

2

噪声控制

5.00

5.00

3

大气污染防治

/

/

(1)

地面生产系统扬尘抑制、喷淋洒水

2.0

2.0

4

废石运输、垃圾清运车等

10.0

10.0

5

厂区绿化、公路绿化、覆土绿化

10.0

10.0

6

预备费

14.3

14.3


合 计

157.3

162.3

2.7项目工程变动情况

环评:项目生活污水利用原有污水处理设施;

实际:重新建设生活污水一体化处理设施,将原生活污水经原化粪池收集后引至新建生活污水一体化设施处理达标后排放。

变更影响:不属于重大变更



3 环境影响报告书回顾

3.1环境影响报告书主要结论

3.1.1地表水环境

环境现状项目所在区域主要的地表水为项目618工业场地北侧小溪沟

根据矿山排污最终受纳水体,环评根据项目受纳水体的实际情况,共布设7个地表水断面,道塘水库设置W1监测断面;坪南河与小溪沟汇合口上游50m处W2监测断面;大河堰小溪发源地W3监测断面;大河堰小溪与坪南河汇合口上游50m处W4监测断面;坪南河与小溪沟汇合口下游100m处W5监测断面;坪南河与小溪沟汇合口下游1000m处W6监测断面;618工业场地北侧小溪沟W7监测断面。监测结果表明:水质较好,满足《地表水环境质量标准》(GB3838-2002)中的Ⅲ类标准。

影响预测:

松桃金瑞白石溪锰矿在生产营运期,矿井污废水正常排放情况下的 COD、NH3-N、Fe、Mn 指标预测值标准指数均小于 1,由于本底值低(未检出), 铁、锰预测值虽变化幅度相对较大, 但均未超过地表水环境质量标准(GB3838-2002)Ⅲ类标准,由此可见,矿井污废水正常排放情况下,未改变小溪沟、大河堰小溪以及坪南河的水环境功能,对水体水质影响较小。矿井水及生活污水未经处理及复用直接外排情况下,对坪南河水质有一定影响,主要为 Fe、Mn 两项指标上升幅度较大,但未改变其水环境功能。小溪沟以及大河堰小溪水质指标出现大幅度上升的情况,甚至 Mn 出现超标,可见矿井水及生活污水未经处理及复用直接外排情况下对小溪沟以及大河堰小溪造成较大影响。因此,应杜绝事故排放,保证废污水处理设施的正常运行,以避免对下游水体造成事故影响。

水污染防治措施:

环评要求矿区矿坑水经调节池+混凝沉淀+一级曝气+一级锰砂过滤工艺处理达《污水综合排放标准》(GB8978-1996)一级标准,处理的矿坑水部分回用,剩余部分排入小溪沟;矿区职工生活污水经一体化污水处理设施处理达《污水综合排放标准》(GB8978-1996)一级标准要求(Fe执行《贵州省环境污染物排放标准》(DB52/864-2013)一级标准要求)后与处理后的矿坑水一起排入废石场坝外小溪沟。生活污水处理污泥经干化后与生活垃圾一并进入垃圾填埋场处置。

3.1.2地下水环境

环境现状:评价区域地下水执行《地下水质量标准》(GB/T14848-2017)中Ⅲ类标准,项目附近地下水出露点设3个采样点。(根据现场踏勘及向当地村民了解,目前铜钱山村各村民组均饮用自来水,其水源为约 5km 处的山泉水(铜钱山村村委会于 2012 年先期协助村民建设,所以未采用道塘水库水源),评价区分布的 3 口井泉无饮用水功能)。

监测结果表明:监测井泉所有监测指标中,各项指标均可达到《地下水质量标准》(GB14848-2017)Ⅲ类标准要求。总体来说建设项目周边地下水环境质量状况较好。

影响预测:

(1)地下水环境受污染程度与非正常排放时的污染物浓度密切相关,在发生泄漏点处,地下水环境中污染物浓度在极短的时间内达到与污染物浓度一致,当某一污染物浓度超过该项地下水质量标准时,从泄漏点开始,污染羽随时间向下游推移,浓度逐渐达到与发生泄漏的污染物浓度一致,会对地下水环境产生污染影响。

(2)废石场地下水径流方向下游 620m 处有铜钱山村向家组井泉(无饮用), 根据预测结果,当废石场淋滤水收集池发生泄漏时,污染羽将在 512d 达到,淋滤水开始对向家组井泉产生 Mn 污染影响;污染羽中心将在 722d 达到向家组井泉,此时污染物浓度与发生泄漏的淋滤水中污染物浓度一致,为 0.439mg/l,对向家组井泉的Mn 污染影响程度最大。

(3)为避免淋溶水池渗漏对下游的井泉产生污染影响,废石场必须修建拦渣坝、环山截洪沟,减少废石淋溶水产生量;废石场淋溶水经淋溶水池收集、沉淀后抽回矿井水处理站处置达标后后用作废石场防尘洒水。淋溶水池应采取防渗措施。

保护措施:

施工期地下水环境影响防治措施:

(1)矿山在施工过程中要考虑采取相应的措施,在井巷掘进过程中,采用先探后掘、一次成形的施工方法。

(2)环评要求先行建设水处理站及排污设施,矿山井筒及井巷施工过程中排放的井壁淋水和井下施工废水、施工人员生活污水,进入先行建设的水处理站进行处理。处理后用于施工用水、施工场地防尘用水。

地下水环境保护措施“源头控制、分区防治、污染监控、应急响应”

加强对工业场地 “三废”管理,尤其是对矿坑水处理站、生活污水处理系统的运行管理,确保污染物实现达标排放,矿坑水尽量回用,减少污废水排放量,对矿石堆场、废石转运场和道路进行硬化,矿石堆场、废石转运场采用棚架式结构;

加强对工业场地淋滤水的管理,收集后引入矿坑水处理站进行处理后用于防尘洒水;加强对矿山废石固体废物的管理,废石不能利用时必须送入废石场进行处置, 废石场修建拦渣坝、排水涵洞、截排水沟和淋滤水池,减少废石淋滤水下渗对地下水的影响。同时为从源头控制地下水污染;

(3)污染防控分重点防渗区工业场地的油脂库及危废暂存间为重点防渗区,危废暂存间及油脂库应按《危险废物贮存污染控制标准》(GB18597-2001)及 2013 修改单的要求防渗;一般防渗区;简单防渗区。

3.1.3 环境空气

环境现状:评价区环境空气执行《环境空气质量标准》(GB3095-2012)中二级

标准。环评阶段设置两个环境空气质量监测点,在厂界东北面设置G1监测点,铜钱山村民点设置G2监测点,各监测点监测项目(PM10PM2.5SO2NO2)浓度值均未超过《环境空气质量标准》(GB3095-2012)二级标准,评价区域环境空气质量较好。

影响预测:

项目施工期大气环境影响包括:混凝土拌合现场与水泥储料站的水泥扬尘;运输车辆与施工用车运行引起的扬尘。通过对路面洒水,可有效抑制扬尘的散发量,施工过程中使用的水泥和其它细颗粒散装原料,应贮存于库房内或密闭存放,避免露天堆放,细颗粒物料运输采用密闭式槽车运输,装卸时要采取措施减少扬尘量。此外,应加强施工机械的使用管理和保养维修,加强施工区地面清洁,并洒水抑尘,可有效降低施工期扬尘对区域大气环境的影响。

本矿山正常生产情况下,工业场地大气污染源主要为无组织排放污染,无组织排放源主要有:工业场地内矿坪、矿石运输、装车过程和废石暂存及运输过程中产生的粉尘。矿山营运期无组织排放扬尘地面最大落地浓度均出现在相应储矿场下风向 156m 处,为0.01692mg/m3,最大占标率为 5.64%,可满足《环境空气质量标准》(GB3095-2012) 二级标准要求。在落实环评所提出的环保措施后,本矿山大气污染物排放对当地环境空气影响轻微,对评价范围内敏感点影响较小。

防治措施:

1.无组织大气排放污染物防治措施

(1)储矿场措施

矿山在工业场地分别分别设置3座矿坪,分别为618矿坪、624矿坪以及精矿坪, 环评要求全部设置为半封闭式棚架结构,并采取喷雾洒水降尘措施,生产时应降低装卸落差,减小扬尘产生。同时考虑在储矿场周围种植对粉尘具有较高耐度和吸附能力的树种和草皮净化空气以减少储矿场对周围环境的污染。

(2)废石堆场防尘

尽量避免平地起堆,堆放时采取压实、覆土措施;人工定期喷雾洒水,目前废石场周边植被覆盖率高, 可进一步减少废石场起尘量。

2.矿石运输污染防治措施

(1)加强公路建设和维护工作

评价认为建设与生产运行中应加强公路管理,保持平整良好的运输路面,是防尘管理的关键。本项目已有进场道路直通矿山,在运营过程中必须加强管理维护,保证路况良好。这样可以大大减少汽车尾气和扬尘量。

(2)运输汽车的防尘要求:运输汽车不应超载,应压平蓬布,车厢应经常检查维修,要求严实不漏。这样可以尽量减少运输过程泄漏及粉尘飞扬,途经居民集中居住区及其附近的路段还应限速行驶。

(3)绿化:在运输道路两侧种植乔木林带,不仅可以保护路基,还可以阻尘、滞尘,减轻对环境影响,滞尘性较强的树种如:桑树、刺槐等。

(4)场内道路清扫及洒水降尘:厂前区对外道路等车流量较大、污染较重的路段要定期清扫,保持路面清洁无积灰,定期对工业场地进行洒水抑尘,从源头减小粉尘产生量

3.1.4声环境

环境现状:评价区所在地声环境执行《声环境质量标准》(GB3096-2008)2 类标准。环评选取了5个监测点位对区域内声环境现状进行监测,分别为厂界东侧1m处N1;厂界南侧1m处N2;厂界西侧1m处N3;厂界北侧1m处N4;铜钱山村民点N5。监测结果表明,噪声监测点昼、夜间噪声现状均不超标,能满足《声环境质量标准》(GB3096-2008)中2类标准说明当地声环境质量现状较好。

防治措施:

(1)矿山通风机、压风机噪声控制

矿山通风机进风道采用混凝土结构,要求在出风道设置消声器;压风机设置减振机座,同时压风机房采用结构隔音,压风管道外敷设吸声材料。

(2)材料加工房、机修车间噪声控制

材料加工房采用结构隔音;机修车间厂房结构隔音,设隔声门窗,同时,机修车间尽量减少冲击性工艺,采用以焊代铆、以液压代冲击、以液动代气动等加工工艺。

(3)矿山泵类噪声控制

矿山使用的泵类设备,降噪措施为水泵间单独隔开封闭,水泵与进出口管道间安装软橡胶接头,同时,泵体基础设橡胶垫或弹簧减振动器,降低管道和基础产生的固体传声。电机考虑设隔声罩,若采用全封闭罩时,外加机械通风。

(4)绞车房噪声控制

绞车房噪声为间断性机械噪声,机房设置有隔声值班室,以减小噪声对操作人员的影响,机房采用实墙结构隔音,设备安装减振基座。

(5)绿化降噪

在高噪声建(构)筑物周围及场地厂界种植一定宽度的绿化林带, 绿化林带选用枝叶茂密的常绿乔木、灌木,高矮搭配,形成一定宽度的吸声林带。

(6)个体防护措施

对无法采取降噪措施的各作业场所,操作工人设置个人卫生防护措施,工作时佩带耳塞、耳罩和其它人体防护用品。

(7)运矿道路噪声控制措施

矿山公路运输过程中,会对公路两旁居民产生噪声影响,环评要求在交通噪声敏感地段设限速标志与减速路障,将车速控制在 20km/h 以下,以达降噪效果。

3.1.5固体废物

固体废物种类:

矿山施工期产生的主要固体废物为:地面工业场地施工过程中产生的建筑垃圾、井巷掘进过程产生的废石以及施工队伍产生的生活垃圾;矿山生产运营期排放的固体废物主要为为废石、生活垃圾、矿坑水处理站泥渣, 此外还有少量生活污水处理站污泥和机修车间废机油及油泥。

处置措施:

施工期:

(1)地面场地施工过程中将排放少量建筑垃圾和生活垃圾,建筑垃圾主要是废弃的碎砖、石、砼块等和各类包装箱、纸等,产生量较少。废弃碎砖、石、砼块等一般作为地基的填筑料,各类包装箱、纸一般有专人负责收集分类存放,统一运往废品收购站进行回收利用,因此,工程施工中建筑垃圾对环境产生的影响较小;

(2)施工期施工场地的生活垃圾经分类收集存放后,运往孟溪镇生活垃圾堆放场堆存,再统一铜仁市松桃县生活垃圾卫生填埋场处理;

(3)环评要求一部分用于矿井场地建设填方, 剩余部分置于废石堆场处置。

营运期

环评要求在工业场地主要建筑物及作业场所设置垃圾桶,并分类收集后定时清运到孟溪镇生活垃圾堆放场,再由环卫部门定期送铜仁市松桃县垃圾卫生填埋场进行处置;矿坑水处理站泥渣经干化后掺入矿石;

生活污水处理站产生的污泥,经消毒干化后与生活垃圾一并送往松桃县垃圾卫生填埋场统一处置;

(3)机修车间、运行设备产生废机油、油泥以及含油零部件按《危险废物贮存污染控制标准》、《危险废物转移联单管理办法》进行收集、贮存及转移,委托有资质的单位进行处置

3.1.6生态环境

环境现状:

贵州松桃金瑞锰业有限责任公司白石溪锰矿开采方法为地下开采,未对矿区作大面积的植被剥离,对区域植被破坏性不大。主要为工业场地建设导致地表裸露,损坏了地表植被及破坏了区域土地水土涵养力,同时工业场地雨水收集措施不完善,工业场地未进行硬化,泥土随雨水冲刷径流出矿区,造成了一定程度的水土流失。矿区采取房柱式开采,保留间柱、顶柱与底柱,作为永久性矿柱,经现场踏勘,目前矿区内无居民点分布,也未出现地表沉陷、沟壑以及崩塌现场。

环评要求对工业场地进行硬化,对部分未建设截排水沟矿坪实施建设截排水沟, 减缓水土流失,同时对工业场地内进行一些植被恢复,对生态环境进行补偿。

影响预测:

矿山扩能不扩界,基本沿用原有工业场地及生产设施,改造部分设施,无新增占地,对生态破坏较小。矿山建设期对生态环境的影响,主要为建设场地的平整,造成植被破坏,生物量减少;扰动地表增加水土流失;施工扰动生境对野生动物的影响等。

(1)矿山总占地面积为 1.4370km2。矿山扩能不扩界,因此不新增占地面积,占地类型包含建设用地、有林地、灌木林地、旱地、荒草地以及少量河流水面。大多为有林地及灌木林地,破坏的植被较少,无珍稀保护植物,因此项目施工对植被的影响不大,且施工结束搞好各场地绿化后,植被及生物量均可得到一定的恢复。

(2)由于矿山施工扰动地表,将加重水土流失,但由于矿山占地面积较小,扰动量较小,所产生的水土流失量不大。在严格按照批复的水土保持方案搞好施工期的水土保持措施后,其水土流失量可得到有效控制。

(3)项目区域属于典型的农业生态区,区域人类活动较多,因此评价范围内的野生动物较少,项目施工期施工过程的机械产生噪声及人为活动干扰下,部分野生动物可能逃逸或向外迁移。

保护措施:

施工期生态环境保护措施:

1.强化生态环境保护意识

2.水土流失的防治措施

严格按照经批复的水土保持方案及批复搞好项目建设施工期水土保持措施。

施工中不得将临时堆放的土石方任意弃置,以免遇强降雨引起水土流失

(1)矿山施工采用环境友好的施工方案,施工营地和临时物料堆场均在矿山征用

的土地内设置,尽量不设置临时施工占地。

(2)地面施工过程中对施工破坏区,施工完毕,要及时平整土地,并种植适宜的植物,以防止发生新的土壤侵蚀。

(3)对场地施工区,水蚀强烈,为避免产生新的水土流失,必须采取设置排水沟及场地硬化等相应的工程措施。

3.植被的保护和恢复措施

项目施工过程中仍应加强管理,必须将施工临时用地布置在永久占地范围内,并将临时占地面积控制在最低限度,以免增大土壤与植被的破坏面积。

保护和利用好表层的熟化土壤,施工前把表层的熟化土壤集中起来;待施工扰动结束后,再覆土于新塑地貌区,以利于植被恢复。

4.按矿山环境保护与综合治理,以及土地复垦方案,对原场地进行治理和复垦。

5.加强对施工人员的宣传教育和管理禁止滥捕乱猎,保护野生动物。

营运期生态保护措施:

为确保井田范围内建筑物、村寨房屋、工业场地、进场公路的安全,必须按相关规定对井筒、矿区边界留设足够安全保护矿柱。开采引起的地表下沉有不确定性,矿区范围内局部地形坡度较陡,应需随时了解和观察地面的滑坡、塌陷等情况,必要时采取合理的支护防滑措施,以确保矿山正常的生产和生活。应对开采沉陷区进行地表沉陷观测,对影响范围内的房屋等建筑物进行实时监测,如砖墙出现裂缝、门窗严重变形等,要采取维修加固措施,严重者要进行搬迁,其搬迁安置及维修加固费用应由矿方承担。服务期满后对工业场地和废石堆场进行覆土绿化,并采取生态恢复措施。

3.2环境影响报告书批复

《贵州松桃金瑞锰业有限责任公司松桃县白石溪锰矿(延续、变更)环境影响报告书》由宁夏智诚安环技术咨询有限公司2019年2月编制完成,并于2019年3月29日贵州省生态环境厅以“黔环审[2019]21号文”印发了项目批复文件,批复对本项目的具体要求详见附件2。

3.3环评及批复文件提出的环保措施落实情况

    根据环评报告书提出的环保措施及项目环评验收一览表的要求,项目进行了认真的落实,具体环保措施具体落后时情况见表 3.3-1。

表3.3-1 环评批复要求与实际落实情况对照表

时期

项目


环评文本措施


环评批复要求


实际落实情况





























废水


废气


噪声


固废


生态

(1)施工人员生活污水依托一体化污水处理设施处置达标排放;

(2)对于矿山各井筒施工过程排放的井壁淋水和井下施工用水,评价要求采用临时沉淀设施处理,经沉淀处理后废水可作为施工用水和施工场地防尘用水;

(3)施工过程中使用的水泥和其它细颗粒散装原料,应贮存于库房内或密闭存放,避免露天堆放,细颗粒物料运输采用密闭式槽车运输,装卸时要采取措施减少扬尘量。此外,应加强施工机械的使用管理和保养维修,加强施工区地面清洁,并洒水抑尘,可有效降低施工期扬尘对区域大气环境的影响

(4)尽量采用低噪声设备,并对设备定期维修、养护,减少机械设备由于松动部件的振动而增加其工作时的声级;按规定操作机械,设备对闲置不用的设备及时关闭;运输车辆途经村民点时严禁鸣笛;强化施工期噪声环境管理。施工现场应执行《建筑施工场界环境噪声排放标准(GB12523-2011),并由施工企业对施工现场的噪声值进行监测和记录,超过限值必须调整施工强度,以确保附近居民点不受施工噪声干扰,避免扰民事件发生;

(5)施工期建筑垃圾由专人负责收集分类存放,统一运往废品收购站进行回收利用;施工期施工场地的生活垃圾经分类收集存放后,运往孟溪镇生活垃圾堆放场堆存,再统一铜仁市松桃县生活垃圾卫生填埋场处理;

(6)强化生态环境保护意识;水土流失的防治措施;植被的保护和恢复措施;按矿山环境保护与综合治理,以及土地复垦方案,对原场地进行治理和复垦;加强对施工人员的宣传教育和管理禁止滥捕乱猎,保护野生动物

(1)施工人员生活污水依托一体化污水处理设施处置达标排放;

(2)对于矿山各井筒施工过程排放的井壁淋水和井下施工用水,评价要求采用临时沉淀设施处理,经沉淀处理后废水可作为施工用水和施工场地防尘用水;

(3)施工过程中使用的水泥和其它细颗粒散装原料,应贮存于库房内或密闭存放,避免露天堆放,细颗粒物料运输采用密闭式槽车运输,装卸时要采取措施减少扬尘量。此外,应加强施工机械的使用管理和保养维修,加强施工区地面清洁,并洒水抑尘,可有效降低施工期扬尘对区域大气环境的影响

(4)尽量采用低噪声设备,并对设备定期维修、养护,减少机械设备由于松动部件的振动而增加其工作时的声级;按规定操作机械,设备对闲置不用的设备及时关闭;运输车辆途经村民点时严禁鸣笛;强化施工期噪声环境管理。施工现场应执行《建筑施工场界环境噪声排放标准(GB12523-2011),并由施工企业对施工现场的噪声值进行监测和记录,超过限值必须调整施工强度,以确保附近居民点不受施工噪声干扰,避免扰民事件发生;

(5)施工期建筑垃圾由专人负责收集分类存放,统一运往废品收购站进行回收利用;施工期施工场地的生活垃圾经分类收集存放后,运往孟溪镇生活垃圾堆放场堆存,再统一铜仁市松桃县生活垃圾卫生填埋场处理;

(6)强化生态环境保护意识;水土流失的防治措施;植被的保护和恢复措施;按矿山环境保护与综合治理,以及土地复垦方案,对原场地进行治理和复垦;加强对施工人员的宣传教育和管理禁



















已落实,与环评及批复一致































地面储矿场设置半封闭棚架结构,周围设置喷雾洒水装置;矿石装车时设置喷雾洒水装置;废石场通过人工定期防尘洒水,周围进行绿化;运输车辆厂区道路定期洒水,采取加盖篷布、控制载尘量等措施

地面储矿场设置半封闭棚架结构,周围设置喷雾洒水装置;矿石装车时设置喷雾洒水装置;废石场通过人工定期防尘洒水,周围进行绿化;运输车辆厂区道路定期洒水,采取加盖篷布、控制载尘量等措施



   



已落实,与环评及批复一致








(1)矿坑水采用调节池+混凝沉淀+一级曝气+一级锰砂过滤工艺处理达《污水综合排放标准》(GB8978-1996)一级标准要求,处理的矿坑水部分回用,剩余部分排入小溪沟;

(2)生活污水采用原有一体化污水处理设备处理达《污水综合排放标准》(GB8978-1996)一级标准要求(Fe执行《贵州省环境污染物排放标准》(DB52/864-2013)一级标准要求)与矿坑水一同排至废石场下游小溪沟;

(3)工业场地内3个储矿场采用半封闭棚架式结构,同时对各场地、道路进行硬化,并在各场地低洼处修收集水池,废石场分别设截排水沟及拦渣坝,在拦渣坝下游设淋溶水收集池(100m3),,618工业广场及废石场淋滤水要求一并进入拦渣坝下游淋滤水收集池处置,经沉淀后采用水泵抽至矿井水处理站处置达标后用作场地防尘用水;

(4)矿坑水复用系统1套、场地淋滤水复用管道;

(5)工业场地矿坑水、生活污水排污管线明管布设;

(6)在线监控设施1套;

(7)将原有648工业广场进行关闭,将原有职工用房、机修车间等拆除并搬至618工业广场,并对场地进行生态恢复

(1)矿坑水采用调节池+混凝沉淀+一级曝气+一级锰砂过滤工艺处理达《污水综合排放标准》(GB8978-1996)一级标准要求,处理的矿坑水部分回用,剩余部分排入小溪沟;

(2)生活污水采用原有一体化污水处理设备处理达《污水综合排放标准》(GB8978-1996)一级标准要求(Fe执行《贵州省环境污染物排放标准》(DB52/864-2013)一级标准要求)与矿坑水一同排至废石场下游小溪沟;

(3)工业场地内3个储矿场采用半封闭棚架式结构,同时对各场地、道路进行硬化,并在各场地低洼处修收集水池,废石场分别设截排水沟及拦渣坝,在拦渣坝下游设淋溶水收集池(100m3),,618工业广场及废石场淋滤水要求一并进入拦渣坝下游淋滤水收集池处置,经沉淀后采用水泵抽至矿井水处理站处置达标后用作场地防尘用水;

(4)矿坑水复用系统1套、场地淋滤水复用管道;

(5)工业场地矿坑水、生活污水排污管线明管布设;

(6)在线监控设施1套;

(7)将原有648工业广场进行关闭,将原有职工用房、机修车间等拆除并搬至618工业广场,并对场地进行生态恢复



已落实,与环评及批复一致;由于原生活污水处理设施处理效果不能满足要求;企业自行新增一套一体化污水处理设施






通风机进风道采用混凝土结构,出风道内衬吸声衬板,扩散口安装片式消声器;压风机房建筑采取隔声措施,压风管道外敷吸声材料;材料加工房和机修车间夜间停止工作,电锯降噪处理,机修车间尽量减少冲击性工艺,房屋维护结构隔声;水泵做基础减振,管路采用可曲扰橡胶接头;工业场地按要求修建围墙和绿化降噪。满足《工业企业厂界环境噪声排放标准》中的2类标准要求。

通风机进风道采用混凝土结构,出风道内衬吸声衬板,扩散口安装片式消声器;压风机房建筑采取隔声措施,压风管道外敷吸声材料;材料加工房和机修车间夜间停止工作,电锯降噪处理,机修车间尽量减少冲击性工艺,房屋维护结构隔声;水泵做基础减振,管路采用可曲扰橡胶接头;工业场地按要求修建围墙和绿化降噪。满足《工业企业厂界环境噪声排放标准》中的2类标准要求。






已落实,与环评及批复一致







废石场设置拦渣坝,周边设截排水沟,拦渣坝下设置100m3淋溶水池1座;

工业场地设置垃圾桶,分类收集,运往松桃县垃圾填埋场统一处置;

生活污水处理站污泥消毒干化后与生活垃圾一并运往松桃县垃圾填埋场统一处置;

矿坑水处理站污泥经干化后掺入矿石外售;

机修车间废机油及油泥设置危废暂存间1座,按规范交又资质单位处置

废石场设置拦渣坝,周边设截排水沟,拦渣坝下设置100m3淋溶水池1座;

工业场地设置垃圾桶,分类收集,运往松桃县垃圾填埋场统一处置;

生活污水处理站污泥消毒干化后与生活垃圾一并运往松桃县垃圾填埋场统一处置;

矿坑水处理站污泥经干化后掺入矿石外售;

机修车间废机油及油泥设置危废暂存间1座,按规范交又资质单位处置










已落实,与环评及批复一致


生态环境及风险防范措施

(1)绿化:工业场地及道路绿化、地面硬化处理;

(2)地表沉陷:对矿区范围内的采空区等,必须留设足够的安全保护矿柱,并及时进行封闭;矿区范围内局部地形坡度较陡,应需随时了解和观察地面的滑坡、塌陷等情况,必要时采取合理的支护防滑措施,以确保矿山正常的生产和生活;对影响范围内的房屋等建筑物进行实时监测,如砖墙出现裂缝、门窗严重变形等,要采取维修加固措施,严重者要进行搬迁,其搬迁安置及维修加固费用应由矿方承担。

(1)绿化:工业场地及道路绿化、地面硬化处理;

(2)地表沉陷:对矿区范围内的采空区等,必须留设足够的安全保护矿柱,并及时进行封闭;矿区范围内局部地形坡度较陡,应需随时了解和观察地面的滑坡、塌陷等情况,必要时采取合理的支护防滑措施,以确保矿山正常的生产和生活;对影响范围内的房屋等建筑物进行实时监测,如砖墙出现裂缝、门窗严重变形等,要采取维修加固措施,严重者要进行搬迁,其搬迁安置及维修加固费用应由矿方承担。







已落实,与环评及批复一致



4生态影响调查

4.1生态环境现状调查

2019年8月中旬,我公司组织技术人员对贵州松桃金瑞锰业有限责任公司松桃县白石溪锰矿矿区进行了生态现状调查,调查的技术方法包括现场踏勘、实地访问、资料查阅、遥感技术调查等。

4.1.1植被现状调查

根据卫片显示、实地调查以及参考现有的文献和资料的基础上,根据当地群落的特征,通过比较它们的异同点,主要参照《贵州植被》(黄威廉、屠玉麟、杨龙著) 中对贵州自然、人工植被的分类系统,划分出建设项目评价区域内不同的植被类型。

森林植被:区域发育的森林植被属于湿润性的常绿阔叶林以及针叶林系,具有从

湘西丘陵到贵州高原的过度性,其中的代表植物有马尾松、杉木群系、青冈、白栎群系,群落高度约为 8~15m,大面积分布于评价区范围内,为评价区最主要植被类型。

灌丛草坡植被:本地区以次生的灌丛草坡为植被的主要类型,代表火棘、荚蒾薇灌丛,马桑、杜鹃灌丛;草地植被有山白茅、芒草杂类草丛。

农田植被:主要分旱地植被和水田植被:旱地植被为玉米—小麦(油菜)一年两熟旱地作物组合,植被的夏秋建群层片以玉米为主,在玉米间常间作黄豆、四季豆等各种豆类,形成高矮不同的空间层片结构,冬春建群层片则以小麦、油菜、豌豆、胡豆、洋芋等小季作物为主,形成“玉─麦”、“玉─油”、“玉─豆”等多种作物组合,生产水平不高,玉米平均单产约 280~320kg/亩,呈小面积分布于评价区东侧、中部和南部;水田植被为水稻—油菜(小麦)一年两熟水田作物组合,植被具有两个建群层片。夏秋建群层片以水稻为主,冬春建群层片以油菜或小麦为主,或间有豌豆、胡豆、洋芋等小季作物搭配,形成“稻─油”、“稻─麦”、“稻─豆”等多种类型。受水源及耕作管理水平的影响,本区水田植被的生产水平不高,水稻单产在 290~ 350kg/亩左右,油菜籽仅 50kg/亩,左右分布于评价区西侧、中部和南部。植被类型及面积统计见表4.1-1。

表4.1-1评价区植被类型、面积及特征表

植被系列


植被型组


植被类型

面 积(km2

占总面积比例(%)




自然植被

针叶林

马尾松、杉木群系

1.2766

19.60

阔叶林

青冈、白栎群系

1.0383

15.94


山地灌丛

火棘、荚蒾薇灌丛

2.0686

31.76

马桑、杜鹃灌丛

0.4699

7.21

山地草丛

山白茅、芒草杂类草丛

1.0540

16.18

人工植被

农田植被

旱地作物

玉米—小麦(油菜)一年两熟作物组合

0.577

8.86

非植被区(居民点、河流等)

0.0285

0.44

合计

6.5129

100

4.1.2动物资源现状

据调查,近年来偶见的兽类动物有大足鼠、社鼠、巢鼠、褐家鼠、小家鼠等;鸟类主要有山斑鸠、普通翠鸟、家燕普通亚种、喜鹊、麻雀、大山雀华南亚种、金腰燕、山麻雀、树麻雀、棕头雅雀贵州亚种等,水田和周边林地还分布有蛙类和蛇类(乌梢蛇、菜花蛇、灰鼠蛇等)、蛙类(泽蛙、浮蛙、刺胸蛙、沼水蛙、中华蟾蜍等),且蛙类和蛇类属于贵州省重点保护动物,此外还有种类和数量众多的昆虫等。另外,评价区的家畜主要有羊、牛、马和鸡、鸭等。环评要求在矿井施工和运营期间,禁止对野生动物尤其是保护动物乱捕乱杀。

4.1.3土地利用现状

评价区内的土壤主要为黄红壤、石灰土、耕作土等。项目区耕地受地形坡度的影响,土壤厚度一般在 70cm 左右,其发育层次明显,其耕作层厚度在19~25cm之间,有机质含量较高,土壤肥力中等;林地土壤较薄,平均厚度在40cm左右,表层15cm为腐殖层,有机质含量高。评价区土地利用现状统计表见表4.1-2。

表4.1-2评价区土地利用现状统计表


编号

用地类型


面积(km2

占总面积的比例(%)

一级类

二级类

三级类




1


农用地

耕地

旱地

0.5770

8.86


林地

有林地

2.3149

35.54

灌木林地

2.5385

38.98



小计

5.4304

83.38

2

建设用地

住宅用地

农村宅基地

0.0118

0.18


3


未利用地

未利用土地

荒草地

1.0540

16.18

其他土地

河流水面

0.0167

0.26

小计

1.0825

16.62

合计

6.5129

100

4.2环境保护措施落实情况调查

4.2.1施工期环境保护措施落实情况调查

根据调查,本项目施工管理较为完善,施工期采取的措施有:

工程施工时尽可能的较少临时占地,基本利用原来的场地;

矿山成立安全环保科负责矿山的环保管理工作,监督落实施工期生态防护与恢复措施;

施工期加强水土保持工作,在工业场地及道路两侧种植树木,增加绿化面积,工业场地四周修建截排水沟;

施工过程中产生的土石方及表面剥离物及时清运,集中堆放。

4.2.2营运期环境保护措施落实情况调查

由于矿山开采方式为地下开采,破坏的植被较少。但地下开采可能会引起地表下沉的可能性,为确保井田范围内建筑物、村寨房屋、工业场地、进场公路的安全,矿山按相关规定对井筒、矿区边界留设足够安全保护矿柱。开采引起的地表下沉有不确定性,矿区范围内局部地形坡度较陡,应需随时了解和观察地面的滑坡、塌陷等情况,必要时采取合理的支护防滑措施,以确保矿山正常的生产和生活。应对开采沉陷区进行地表沉陷观测,对影响范围内的房屋等建筑物进行实时监测,如砖墙出现裂缝、门窗严重变形等,要采取维修加固措施。目前还未出现上述情况,矿山按照相关规范合理开采,按《贵州松桃金瑞锰业有限责任公司松桃县白石溪锰矿水土保持方案》做好水土保持工作,按土地复垦要求进行复垦。

4.3调查小结与建议

结论:现场调查结果表明,施工期间,矿山基本落实了环评及环评批复文件要求的各项生态环境保护措施,调查区植被类型、动植物分布和数量与环评阶段基本一致,瞒住竣工环保验收要求。

建议:

建设单位应加强工业场地的绿化和已实施的植物措施的后期管理,定期检查,对损坏的工程措施及时进行修复;

若开采区有地表裂缝,塌陷等情况,应及时修复、回填,并进行绿化,防止地质灾害的发生并减轻水土流失。严禁超界开采,并在开采过程中强化生态保护和恢复措施。及时开展沉陷区的土地整治与土地复垦工作;

在矿山开采过程中受到地表沉陷影响的居民住宅,应随开采进度提前采取维护加固、维修、搬迁等措施,确保居民生产、生活不受影响;对于受到沉陷影响的耕地和有林地,应及时进行复垦和生态综合整治;对于受到破坏的耕地,应根据受到破坏的程度给予经济补偿。

5地下水环境影响调查

5.1地下水环境现状调查

本项目地处地下水补给区,地下水位埋藏较深,地下水出露点较少(评价范围内仅出露以下3个点)。根据环评阶段现状监测数据及现场情况,本项目环境质量现状基本无变化,各项指标均可达到《地下水质量标准》(GB14848-2017)Ⅲ类标准要求。总体来说建设项目周边地下水环境质量状况较好。

5.2地下水环境影响调查

(1)地下水环境受污染程度与非正常排放时的污染物浓度密切相关,在发生泄漏点处,地下水环境中污染物浓度在极短的时间内达到与污染物浓度一致,当某一污染物浓度超过该项地下水质量标准时,从泄漏点开始,污染羽随时间向下游推移,浓度逐渐达到与发生泄漏的污染物浓度一致,会对地下水环境产生污染影响;

(2)当废石场淋滤水收集池发生泄漏时,可能会影响废石场地下水径流方向下游 620m 处有铜钱山村向家组井泉(无饮用);为避免淋溶水池渗漏对下游的井泉产生污染影响,废石场必须修建拦渣坝、环山截洪沟,减少废石淋溶水产生量;废石场淋溶水经淋溶水池收集、沉淀后抽回矿井水处理站处置达标后后用作废石场防尘洒水。淋溶水池应采取防渗措施;

(3)由于矿体开采过程中,含矿地层含水层将发生移动,地下水流向可能会发生改变,沉陷区边缘附近产生的裂缝还有可能导通含矿地层含水层,引起地下水补排条件、径流方向及地表植被的供水状况的变化,而且当下沉较大、地下水埋藏较浅的平坦区域,沉陷区还会出现积水情况,但由于本矿山地处山区,地形起伏较大,排泄条件较好,因此,出现沉陷积水坑的可能性较小

5.3 地下水环境保护措施落实情况调查

施工期环境保护措施落实情况:

(1)矿山在施工过程中采取相应的措施,在井巷掘进过程中,采用先探后掘、一次成形的施工方法。

(2)污水处理设施已建设,矿山井筒及井巷施工过程中排放的井壁淋水和井下施工废水、施工人员生活污水,进入污水处理站进行处理。处理后用于施工用水、施工场地防尘用水。

营运期环境保护措施落实情况:

矿山设置安全环保管理负责人,负责工业场地“三废”管理,尤其是对矿坑水处理站、生活污水处理系统的运行管理,确保污染物实现达标排放,矿坑水尽量回用,减少污废水排放量,矿石堆场、废石转运场采用棚架式结构;负责工业场地淋滤水的管理,收集后引入矿坑水处理站进行处理后用于防尘洒水。

负责对矿山废石固体废物的管理,废石不能利用时必须送入废石场进行处置,废石场修建拦渣坝、排水涵洞、截排水沟和淋滤水池,减少废石淋滤水下渗对地下水的影响。同时为从源头控制地下水污染。一方面应加强对产生的废石进行综合利用,减少废石场废石堆放量;另一方面,地下水污染源来自淋溶水,应在废石场周边设截排水沟及挡渣坝,减少废石场雨水的渗溶量;现场环境管理,减少跑、冒、漏、滴,以杜绝地下水污染。项目污废水管道、污水处理池及储存池应按照防渗设计要求进行标准施工;同时,在废石场堆放废石之前,对底部压实,减少淋溶水的下渗量。

5.4 调查小结与建议

结论:验收调查期间,项目已按环评要求做好相关保护措施及管理工作,根据环评结论可知,在落实相关环境保护措施的条件下,项目营运期对地下水影响较小。

建议:建议建设单位加强项目环保措施的维护管理工作,按照环评要求定期做环境管理监测,确保地下水环境不受项目的干扰。

6地表水环境影响调查

6.1地表水环境现状调查

根据矿山最终排污的受纳水体,评价确定在小溪沟、大河堰小溪、道塘水库和坪南河共设置7个地表水监测断面,根据环评阶段现状监测数据及现场情况,本项目环境质量现状基本无变化,环评阶段现状监测结果表明:各河段水质较好,基本满足《地表水环境质量标准》(GB3838-2002)中的Ⅲ类标准。

6.2地表水环境保护措施落实情况调查

6.2.1施工期环境保护措施调查

根据现场走访及施工监理,贵州松桃金瑞锰业有限责任公司松桃县白石溪锰矿采取的措施如下:生活污水:施工人员生活污水依托原矿山一体化污水处理设施处置达标后排放,职工生活污水经一体化污水设备进行生化处理达标后排放至小溪沟。

6.2.2营运期环境保护措施调查

(1)生活污水处理方案

处理工艺:初沉池+接触氧化池+二沉池+消毒池(一体化处理设备);

处理规模:10m3/d;

生活污水处理设备见附图6,生活污水处理设备及构筑物见表6.2-1。

表6.2-1 生活污水处理设备及构筑物一览表

序号

使用位置

名    称

净空尺寸、型号及参数

数量

单位

备注

1

土建

一体化设备基础

3.0m×3.0m×0.3m

1

业主自建

2

隔油池

协管填料

Փ35mm

1

用于隔油池

3

支架


1

4

调节池

清掏

1

利用

原有

5

废水提升泵

Q=1.5m3/h,H=15,N=0.37KW

2

一用

一备

6

搅拌系统

DN25

1


7

细格栅

0.4m×0.5m,格栅间隙5mm

1

非标

8

一体化设备

一体化尺寸

2.5m×2.5m×3.0m

1

水堰

9

组合填料

Փ150mm,片距150mm,L=1.5m

m3

4.5


101

曝气盘

Փ215mm,服务面积0.38m2/个

6


11

布水系统

DN25

m2

0.8

穿孔布水管

12

布气系统

DN32

m2

2.8


13

协管填料

Փ35mm,L=1000mm

m2

2


14

循环泵

Q=1.8m3/h,H=6m,N=0.18KW

2

一用

一备

15

污泥泵

Q=1.25m3/h,H=8m,N=0.37KW

1


16

支架


1


17

转子流量计

10~100L/h

2


18

液位控制器


2


(2)矿坑水处理方案

处理工艺:调节池+混凝沉淀+一级曝气+一级锰砂过滤(一体化处理设备);

处理规模:2280m3/d;

矿坑水处理设备见附图6,矿坑水处理设备及构筑物见表6.2-2。

表6.2-2 矿坑水处理设备及构筑物一览表

序号

使用位置

名    称

净空尺寸、型号及参数

数量

单位

材质

1

高效沉淀池

反应区

2.5m×2.5m×5.0m

1

钢结构

2

沉淀区

4.0m×4.0m×5.0m

1

3

原有沉淀池

污泥

清掏

1


4

调节池

搅拌系统

DN25mm

61

m2

UPVC

5

支架


1


6

一级曝气池

废水提升泵

Q=95m3/h,H=11,N=5.5KW

2


7

布气系统

DN50

40

m2

UPVC

8

液位计

0~5m

1


9

微孔盘

Փ215mm,服务面积:0.35m2/个

110


10

高效沉淀池

搅拌机

N=1.5kw

1

碳钢防腐

11

刮泥机

N=0.55kw

1

碳钢防腐

12

斜管填料

Փ50mm,L=1.5m,安装倾角60°

16

m2


13

填料支架


1

碳钢防腐

14

出水槽


1

碳钢防腐

15

污泥泵

Q=10m3/h,H=12m,N=1.1KW

2


16

中间水池

废水提升泵

Q=95m3/h,H=11,N=5.5KW

2


17

液位计

0~5m

1


18

一级锰砂过滤池

锰砂整套设备

Φ3200×4000mm,锰砂粒径1-2mm,石英砂粒径3-5mm

1


19

出水口管道

电磁流量计

DN150

1


20

污泥池

污泥泵

Q=20m3/h,H=12m,N=1.5KW

2


21

设备间

接触氧化池曝气风机

Q=16.05m3/min,P=44.1kpa,N=22KW

2


22

PAC加药装置

V=2000L,N=0.55kw,Q=2m3/h,H=14m,N=0.37kW/台

1


23

转子流量计

0.0~2m3/h

1


24

PAM加药装置

V=2000L,N=0.55kw,Q=2m3/h,H=14m,N=0.37kW/台

1


25

转子流量计

0.0~2m3/h

1


26

Ca(OH)2加药装置

V=2000L,N=0.55kw,Q=4m3/h,H=14m,N=0.55kW/台

1


27

转子流量计

0.0~4m3/h

1


28

叠螺机

0-20m3/h,N=1.2kw

1


29

电气控制部分

配套

1


30

管道


1


(3)场地初期雨水、废石场淋滤水:场地四周修建截排水沟,废石场下游设置拦渣坝,拦渣坝下游设置淋溶水收集池;矿坑水复用系统1套,废石场淋滤水复用管道;

(4)在线监控设施:矿区废水排放口设置在线监控设施1套。

6.3污染源调查与污废水监测

6.3.1水污染源调查

生产期间的水污染源主要为矿坑水及生活污水。

(1)矿井水:

根据现场调查及业主反馈信息,在调试期间矿井水日处理量约为700m3/d,矿坑水从洞口流出由管道引至调节池,再用管道将调节池中的矿坑水引至矿坑水一体化污水处理设施处理达标后,部分回用,剩余的排入小溪沟;

(2)生活污水:验收期间,矿山职工生活污水主要为办公生活用水、食堂废水等,处理量约10m3/d,产生的生活污水量小且不稳定,生活污水处理设施间歇运行,产生的生活污水全部进入一体化污水处理设备处理,经过“初沉池+接触氧化池+二沉池+消毒池(一体化)”处理达标后与处理达标后矿坑水一起排放至小溪沟。

6.3.2水污染源监测

验收监测期间:贵州松桃金瑞锰业有限责任公司松桃县白石溪锰矿(延续、变更)项目的生产负荷达到设计能力的75%以上,主体设施和环保设施运行正常,满足验收要求。具体情况见表6.3-1。

表6.3-1 验收期间工况记录

产品名称

设计能力

实际产量

2019.5.5

工况负荷

2019.5.6

工况负荷

锰矿

303t/d

266

87.8%

256

84.5%

1、矿坑水监测

(1)监测点位

共布设监测点位2个,分别是矿坑废水处理设施进、出口,具体见监测布点见附图5。(2)监测因子

pH值、化学需氧量、悬浮物、铁、锰、砷、铅、汞、六价铬、氟化物、硫化物、

石油类。

(3)监测时间及频次

2019年5月5日至5月6日连续监测2天,每天监测4次。

(4)监测分析方法

按《地表水和污水监测技术规范》(HJ/T91-2002)要求进行,见表6.3-2。

表6.3-2监测分析方法

参数

方法标准

最低检出限

仪器名称/型号

固资编号

pH值

水质 pH值的测定 玻璃电极法 GB/T 6920-1986

-

PH计/PHS-3C

LAS/YQ-046

化学需氧量

水质 化学需氧量的测定 重铬酸盐法HJ 828-2017

4mg/L

酸式滴定管

D-001

悬浮物

水质 悬浮物的测定 重量法 GB/T 11901-1989

4mg/L

电子天平/BSA124S

LAS/YQ-033

水质 铁、锰的测定 火焰原子吸收分光光度法 GB/T 11911-1989

0.03mg/L

原子吸收分光光度计/AA-6300C CF

LAS/YQ-059

水质 铁、锰的测定 火焰原子吸收分光光度法GB/T 11911-1989

0.01mg/L

原子吸收分光光度计/AA-6300C CF

LAS/YQ-059

水质   汞、砷、硒、铋和锑的测定         原子荧光法    HJ 694-2014

0.0003mg/L

原子荧光光度计/PF6-1

LAS/YQ-047

《水和废水监测分析方法》(第四版)增补版   国家环境保护总局(2002年)

0.001mg/L

原子吸收分光光度计/AA-6300C CF

LAS/YQ-059

水质   汞、砷、硒、铋和锑的测定           原子荧光法     HJ 694-2014

0.00004mg/L

原子荧光光度计/PF6-1

LAS/YQ-047

六价铬

水质 六价铬的测定 二苯碳酰二肼光度法GB/T 7467-1987

0.04mg/L

紫外可见分光光度计T6新世纪

LAS/YQ-045

氟化物

水质 氟化物的测定 离子选择电极法 GB/T 7484-1987

0.05mg/L

pH计/pHS-3C

LAS/YQ-046

硫化物

水质 硫化物的测定 亚甲蓝分光光度法 GB/T 16489-1996

0.005mg/L

可见分光光度计/722

LAS/YQ-168

石油类

水质 石油类和动植物油类的测定 红外分光光度法HJ 637-2018

0.06mg/L

红外分光测油仪/JLBG-121U

LAS/YQ-142

(5)监测结果

根据监测结果表 6.3-3 可以看出,验收监测矿坑水处理设备出水口水质各项指标均能达到《污水综合排放标准》(GB8978-1996)一级标准要求,Fe满足《贵州省环境污染物排放标准》(DB52/864-2013)一级标准要求。

表6.3-3 矿坑水监测结果一览表

样品编号

监测时间

监测点位

样品

类型

分析项目

检测结果(mg/L)

标准限值(mg/L)

HJYS2019006-FS3-1-1

2019.8.5

矿井水处理设施进水口

废水

pH值

7.13

-

化学需氧量

149

-

悬浮物

24

-

2.24

-

4.25

-

0.0003ND

-

0.002

-

0.00004ND

-

六价铬

0.004ND

-

氟化物

0.10

-

硫化物

0.010

-

石油类

0.25

-

HJYS2019006-FS3-1-2

2019.8.5

矿井水处理设施进水口

废水

pH值

7.06

-

化学需氧量

162

-

悬浮物

21

-

2.30

-

4.19

-

0.0003ND

-

0.001

-

0.00004ND

-

六价铬

0.004ND

-

氟化物

0.10

-

硫化物

0.008

-

石油类

0.29

-

HJYS2019006-FS3-1-3

2019.8.5

矿井水处理设施进水口

废水

pH值

7.15

-

化学需氧量

153

-

悬浮物

20

-

2.32

-

4.06

-

0.0003ND

-

0.001

-

0.00004ND

-

六价铬

0.004ND

-

氟化物

0.09

-

硫化物

0.005

-

石油类

0.19

-

HJYS2019006-FS3-1-4

2019.8.5

矿井水处理设施进水口

废水

pH值

7.19

-

化学需氧量

140

-

悬浮物

24

-

2.30

-

3.98

-

0.0003ND

-

0.001

-

0.00004ND

-

六价铬

0.004ND

-

氟化物

0.08

-

硫化物

0.006

-

石油类

0.18

-

HJYS2019006-FS3-2-1

2019.8.6

矿井水处理设施进水口

废水

pH值

7.19

-

化学需氧量

164

-

悬浮物

25

-

2.33

-

3.72

-

0.0003ND

-

0.002

-

0.00004ND

-

六价铬

0.004ND

-

氟化物

0.08

-

硫化物

0.008

-

石油类

0.24

-





HJYS2019006-FS3-2-2





2019.8.6





矿井水处理设施进水口





废水

pH值

7.28

-

化学需氧量

159

-

悬浮物

27

-

2.29

-

3.77

-

0.0003ND

-

0.003

-

0.00004ND

-

六价铬

0.004ND

-

氟化物

0.09

-

硫化物

0.006

-

石油类

0.21

-

HJYS2019006-FS3-2-3

2019.8.6

矿井水处理设施进水口

废水

pH值

7.07

-

化学需氧量

178

-

悬浮物

22

-

2.12

-

3.73

-

0.0003ND

-

0.001

-

0.00004ND

-

六价铬

0.004ND

-

氟化物

0.10

-

硫化物

0.011

-

石油类

0.23

-

HJYS2019006-FS3-2-4

2019.8.6

矿井水处理设施进水口

废水

pH值

7.01

-

化学需氧量

168

-

悬浮物

26

-

2.27

-

3.79

-

0.0003ND

-

0.002

-

0.00004ND

-

六价铬

0.004ND

-

氟化物

0.10

-

硫化物

0.005

-

石油类

0.19

-

HJYS2019006-FS4-1-1

2019.8.5

矿井水处理设施出水口

废水

pH值

7.21

6-9

化学需氧量

61

100

悬浮物

12

70

0.05

1

0.10

2.0

0.0003ND

0.5

0.001ND

1.0

0.00004ND

0.05

六价铬

0.004ND

0.5

氟化物

0.05ND

10

硫化物

0.005ND

1.0

石油类

0.06ND

5

HJYS2019006-FS4-1-2

2019.8.5

矿井水处理设施出水口

废水

pH值

7.26

6-9

化学需氧量

47

100

悬浮物

16

70

0.05

1

0.08

2.0

0.0003ND

0.5

0.001ND

1.0

0.00004ND

0.05

六价铬

0.004ND

0.5

氟化物

0.05ND

10

硫化物

0.005ND

1.0

石油类

0.06

5

HJYS2019006-FS4-1-3

2019.8.5

矿井水处理设施出水口

废水

pH值

7.11

6-9

化学需氧量

52

100

悬浮物

8

70

0.06

1

0.08

2.0

0.0003ND

0.5

0.001ND

1.0

0.00004ND

0.05

六价铬

0.004ND

0.5

氟化物

0.05ND

10

硫化物

0.005ND

1.0

石油类

0.06ND

5

HJYS2019006-FS4-1-4

2019.8.5

矿井水处理设施出水口

废水

pH值

7.23

6-9

化学需氧量

45

100

悬浮物

14

70

0.06

1

0.07

2.0

0.0003ND

0.5

0.001ND

1.0

0.00004ND

0.05

六价铬

0.004ND

0.5

氟化物

0.05ND

10

硫化物

0.005ND

1.0

石油类

0.06ND

5

HJYS2019006-FS4-2-1

2019.8.6

矿井水处理设施出水口

废水

pH值

7.29

6-9

化学需氧量

58

100

悬浮物

12

70

0.09

1

0.06

2.0

0.0003ND

0.5

0.001ND

1.0

0.00004ND

0.05

六价铬

0.004ND

0.5

氟化物

0.05ND

10

硫化物

0.005ND

1.0

石油类

0.06ND

5





HJYS2019006-FS4-2-2





2019.8.6




矿井水处理设施出水口





废水

pH值

7.31

6-9

化学需氧量

43

100

悬浮物

10

70

0.08

1

0.07

2.0

0.0003ND

0.5

0.001ND

1.0

0.00004ND

0.05

六价铬

0.004ND

0.5

氟化物

0.05ND

10

硫化物

0.005ND

1.0

石油类

0.06ND

5






HJYS2019006-FS4-2-3






2019.8.6






矿井水处理设施出水口






废水

pH值

7.22

6-9

化学需氧量

54

100

悬浮物

16

70

0.07

1

0.07

2.0

0.0003ND

0.5

0.001ND

1.0

0.00004ND

0.05

六价铬

0.004ND

0.5

氟化物

0.05ND

10

硫化物

0.005ND

1.0

石油类

0.06ND

5

HJYS2019006-FS4-2-4

2019.8.6

矿井水处理设施出水口

废水

pH值

7.24

6-9

化学需氧量

49

100

悬浮物

13

70

0.05

1

0.08

2.0

0.0003ND

0.5

0.001ND

1.0

0.00004ND

0.05

六价铬

0.004ND

0.5

氟化物

0.05ND

10

硫化物

0.005ND

1.0

石油类

0.06ND

5

备注:

1、pH单位为“无量纲”;

2、表中低于方法检出限的结果,用“方法检出限+ND”表示;

3、执行《污水综合排放标准 GB 8979-1996 》一级标准要求;

4、Fe执行《贵州省环境污染物排放标准 DB52/864-2013 》一级标准要求。

2、生活污水监测

(1)监测点位

共布设监测点位2个,分别是生活污水处理设施进、出口,具体见监测布点见附图5。

(2)监测因子

pH、悬浮物、化学需氧量、五日生化需氧量、氨氮、总磷、动植物油、阴离子表面活性剂。

(3)监测时间及频次

2019年5月5日至5月6日连续监测两天,每天监测4次。

(4)监测分析方法

pH、悬浮物、化学需氧量监测分析方法见表6.3-2,五日生化需氧量、氨氮、总磷、动植物油、阴离子表面活性剂监测分析方法见表6.3-4。



表6.3-4监测分析方法

参数

方法标准

最低检出限

仪器名称/型号

固资编号

五日生化需氧量

水质 五日生化需氧量(BOD5)的测定 稀释与接种法HJ 505-2009

2mg/L

滴定管

D001

氨氮

水质 氨氮的测定   纳氏试剂分光光度法HJ 535-2009

0.025mg/L

紫外可见分光光度计T6新世纪

LAS/YQ-045

总磷

水质   总磷的测定   钼酸铵分光光度法   GB/T 11893-1989

0.01mg/L

紫外可见分光光度计T6新世纪

LAS/YQ-045

动植物油

水质 石油类和动植物油类的测定 红外分光光度法 HJ 637-2018

0.06mg/L

红外分光测油仪/JLBG-121U

LAS/YQ-142

阴离子表面活性剂

水质 阴离子表面活性剂的测定 亚甲蓝分光光度法   GB/T 7494-1987

0.05mg/L

可见分光光度计/722

LAS/YQ-168

(5)监测结果

根据监测结果表 6.3-5 可以看出,验收监测生活污水处理设备出水口水质各项指标均能达到《污水综合排放标准》(GB8978-1996)一级标准要求。

表6.3-5生活污水监测结果一览表

样品编号

监测时间

监测

点位

样品

类型

分析项目

检测结果(mg/L)

标准限值(mg/L)

HJYS2019006-FS1-1-1

2019.8.5

生活污水处理设施进水 口

废水

pH值

7.16

-

化学需氧量

304

-

五日生化需氧量

84.5

-

氨氮

46.5

-

悬浮物

39

-

动植物油

0.48

-

总磷

6.51

-

阴离子表面活性剂

4.44

-

HJYS2019006-FS1-1-2

2019.8.5

生活污水处理设施进水 口

废水

pH值

7.05

-

化学需氧量

332

-

五日生化需氧量

80.0

-

氨氮

45.9

-

悬浮物

41

-

动植物油

0.41

-

总磷

6.46

-

阴离子表面活性剂

4.31

-

HJYS2019006-FS1-1-3

2019.8.5

生活污水处理设施进水 口

废水

pH值

7.23

-

化学需氧量

315

-

五日生化需氧量

83.9

-

氨氮

45.6

-

悬浮物

38

-

动植物油

0.38

-

总磷

6.56

-

阴离子表面活性剂

4.20

-

HJYS2019006-FS1-1-4

2019.8.5

生活污水处理设施进水 口

废水

pH值

7.12

-

化学需氧量

297

-

五日生化需氧量

78.3

-

氨氮

45.6

-

悬浮物

39

-

动植物油

0.49

-

总磷

6.60

-

阴离子表面活性剂

3.97

-

HJYS2019006-FS1-2-1

2019.8.6

生活污水处理设施进水 口

废水

pH值

7.02

-

化学需氧量

290

-

五日生化需氧量

76.8

-

氨氮

45.3

-

悬浮物

38

-

动植物油

0.49

-

总磷

6.42

-

阴离子表面活性剂

4.26

-

HJYS2019006-FS1-2-2

2019.8.6

生活污水处理设施进水 口

废水

pH值

6.95

-

化学需氧量

314

-

五日生化需氧量

74.5

-

氨氮

46.3

-

悬浮物

42

-

动植物油

0.42

-

总磷

6.71

-

阴离子表面活性剂

3.86

-

HJYS2019006-FS1-2-3

2019.8.6

生活污水处理设施进水 口

废水

pH值

7.14

-

化学需氧量

304

-

五日生化需氧量

72.3

-

氨氮

46.7

-

悬浮物

34

-

动植物油

0.47

-

总磷

6.53

-

阴离子表面活性剂

3.45

-

HJYS2019006-FS1-2-4

2019.8.6

生活污水处理设施进水 口

废水

pH值

6.92

-

化学需氧量

327

-

五日生化需氧量

70.3

-

氨氮

45.9

-

悬浮物

38

-

动植物油

0.61

-

总磷

6.49

-

阴离子表面活性剂

3.56

-

HJYS2019006-FS2-1-1

2019.8.5

生活污水处理设施出水 口

废水

pH值

7.08

6-9

化学需氧量

88

100

五日生化需氧量

17.2

20

氨氮

0.186

15

悬浮物

16

70

动植物油

0.15

10

总磷

0.12

-

阴离子表面活性剂

0.38

5.0

HJYS2019006-FS2-1-2

2019.8.5

生活污水处理设施出水 口

废水

pH值

7.14

6-9

化学需氧量

76

100

五日生化需氧量

16.4

20

氨氮

0.194

15

悬浮物

14

70

动植物油

0.25

10

总磷

0.11

-

阴离子表面活性剂

0.32

5.0

HJYS2019006-FS2-1-3

2019.8.5

生活污水处理设施出水 口

废水

pH值

6.98

6-9

化学需氧量

90

100

五日生化需氧量

15.6

20

氨氮

0.177

15

悬浮物

12

70

动植物油

0.34

10

总磷

0.15

-

阴离子表面活性剂

0.50

5.0

HJYS2019006-FS2-1-4

2019.8.5

生活污水处理设施出水 口

废水

pH值

7.22

6-9

化学需氧量

71

100

五日生化需氧量

16.4

20

氨氮

0.191

15

悬浮物

17

70

动植物油

0.29

10

总磷

0.12

-

阴离子表面活性剂

0.37

5.0

HJYS2019006-FS2-2-1

2019.8.6

生活污水处理设施出水 口

废水

pH值

7.25

6-9

化学需氧量

76

100

五日生化需氧量

13.3

20

氨氮

0.179

15

悬浮物

13

70

动植物油

0.29

10

总磷

0.13

-

阴离子表面活性剂

0.38

5.0




HJYS2019006-FS2-2-2




2019.8.6



生活污水处理设施出水 口




废水

pH值

7.03

6-9

化学需氧量

78

100

五日生化需氧量

15.8

20

氨氮

0.188

15

悬浮物

17

70

动植物油

0.29

10

总磷

0.14

-

阴离子表面活性剂

0.42

5.0

HJYS2019006-FS2-2-3

2019.8.6

生活污水处理设施出水 口

废水

pH值

7.17

6-9

化学需氧量

81

100

五日生化需氧量

16.2

20

氨氮

0.199

15

悬浮物

15

70

动植物油

0.42

10

总磷

0.12

-

阴离子表面活性剂

0.48

5.0

HJYS2019006-FS2-2-4

2019.8.6

生活污水处理设施出水 口

废水

pH值

7.22

6-9

化学需氧量

72

100

五日生化需氧量

14.4

20

氨氮

0.194

15

悬浮物

14

70

动植物油

0.35

10

总磷

0.13

-

阴离子表面活性剂

0.40

5.0

备注:

pH单位为“无量纲”;

2.表中低于方法检出限的结果,用“方法检出限+ND”表示;

3.执行《污水综合排放标准 GB 8979-1996 》一级标准要求。

3、总排口监测

(1)监测点位

共布设监测点位1个,位于总排口

(2)监测因子

pH、悬浮物、化学需氧量、五日生化需氧量、铁、锰、砷、铅、汞、六价铬、氟化物、硫化物、石油类、氨氮、总磷、动植物油、阴离子表面活性剂

(3)监测时间及频次

2019年5月5日至5月6日连续监测两天,每天监测4次。

(4)监测分析方法

监测分析方法见表6.3-2及表6.3-4。

(5)监测结果

根据监测结果表 6.3-6 可以看出,验收监测污水总排口水质各项指标均能达到《污水综合排放标准》(GB8978-1996)一级标准要求。Fe满足《贵州省环境污染物排放标准》(DB52/864-2013)一级标准要求。

表6.3-6废水总排口监测结果一览表

样品编号

监测时间

监测点位

样品类型

分析项目

检测结果(mg/L)

标准限值(mg/L)

HJYS2019006-FS5-1-1

2019.8.5

废水总排放口

废水

pH值

7.34

6-9

化学需氧量

59

100

五日生化需氧量

12.7

20

氨氮

0.363

15

悬浮物

18

70

动植物油

0.36

10

总磷

0.14

-

0.06

1

0.05

2.0

0.0003ND

0.5

0.001ND

1.0

0.00004ND

0.05

六价铬

0.004ND

0.5

氟化物

0.07

10

硫化物

0.005ND

1.0

石油类

0.12

5

阴离子表面活性剂

0.24

5

HJYS2019006-FS5-1-2

2019.8.5

废水总排放口

废水

pH值

7.29

6-9

化学需氧量

64

100

五日生化需氧量

11.7

20

氨氮

0.345

15

悬浮物

25

70

动植物油

0.32

10

总磷

0.13

-

0.04

1

0.08

2.0

0.0003ND

0.5

0.001ND

1.0

0.00004ND

0.05

六价铬

0.004ND

0.5

氟化物

0.08

10

硫化物

0.005ND

1.0

石油类

0.13

5

阴离子表面活性剂

0.32

5

HJYS2019006-FS5-1-3

2019.8.5

废水总排放口

废水

pH值

7.37

6-9

化学需氧量

56

100

五日生化需氧量

10.2

20

氨氮

0.351

15

悬浮物

20

70

动植物油

0.34

10

总磷

0.14

-

0.07

1

0.05

2.0

0.0003ND

0.5

0.001ND

1.0

0.00004ND

0.05

六价铬

0.004ND

0.5

氟化物

0.08

10

硫化物

0.005ND

1.0

石油类

0.17

5

阴离子表面活性剂

0.29

5

HJYS2019006-FS5-1-4

2019.8.5

废水总排放口

废水

pH值

7.22

6-9

化学需氧量

60

100

五日生化需氧量

14.0

20

氨氮

0.342

15

悬浮物

18

70

动植物油

0.21

10

总磷

0.13

-

0.07

1

0.08

2.0

0.0003ND

0.5

0.001ND

1.0

0.00004ND

0.05

六价铬

0.004ND

0.5

氟化物

0.06

10

硫化物

0.005ND

1.0

石油类

0.20

5

阴离子表面活性剂

0.19

5

HJYS2019006-FS5-2-1

2019.8.6

废水总排放口

废水

pH值

7.38

6-9

化学需氧量

64

100

五日生化需氧量

11.8

20

氨氮

0.341

15

悬浮物

21

70

动植物油

0.31

10

总磷

0.13

-

0.06

1

0.06

2.0

0.0003ND

0.5

0.001ND

1.0

0.00004ND

0.05

六价铬

0.004ND

0.5

氟化物

0.07

10

硫化物

0.005ND

1.0

石油类

0.09

5

阴离子表面活性剂

0.23

5







HJYS2019006-FS5-2-2







2019.8.6







废水总排放口







废水

pH值

7.42

6-9

化学需氧量

62

100

五日生化需氧量

14.1

20

氨氮

0.320

15

悬浮物

19

70

动植物油

0.29

10

总磷

0.14

-

0.07

1

0.08

2.0

0.0003ND

0.5

0.001ND

1.0

0.00004ND

0.05

六价铬

0.004ND

0.5

氟化物

0.08

10

硫化物

0.005ND

1.0

石油类

0.12

5

阴离子表面活性剂

0.31

5

HJYS2019006-FS5-2-3

2019.8.6

废水总排放口

废水

pH值

7.31

6-9

化学需氧量

40

100

五日生化需氧量

12.0

20

氨氮

0.334

15

悬浮物

25

70

动植物油

0.36

10

总磷

0.15

-

0.11

1

0.07

2.0

0.0003ND

0.5

0.001ND

1.0

0.00004ND

0.05

六价铬

0.004ND

0.5

氟化物

0.06

10

硫化物

0.005ND

1.0

石油类

0.08

5

阴离子表面活性剂

0.27

5

HJYS2019006-FS5-2-4

2019.8.6

废水总排放口

废水

pH值

7.27

6-9

化学需氧量

51

100

五日生化需氧量

13.3

20

氨氮

0.322

15

悬浮物

22

70

动植物油

0.25

10

总磷

0.14

-

0.13

1

0.08

2.0

0.0003ND

0.5

0.001ND

1.0

0.00004ND

0.05

六价铬

0.004ND

0.5

氟化物

0.08

10

硫化物

0.005ND

1.0

石油类

0.12

5

阴离子表面活性剂

0.26

5

备注:

1、pH单位为“无量纲”;

2、表中低于方法检出限的结果,用“方法检出限+ND”表示;

3、执行《污水综合排放标准 GB 8979-1996 》一级标准要求;

4、Fe执行《贵州省环境污染物排放标准 DB52/864-2013 》一级标准要求。

4、排污口设置及水质自动监控系统

根据现场调查,经一体化污水处理设备处理后的生活污水及处理后的矿坑水设置一个总排口。生活污水处理设备出水口及矿坑水处理设备出水口安装1套水质在线监控系统。

6.4调查小结及建议

小结:监测结果可以看出,本次验收监测中生活污水处理设备、矿坑水处理设备出水口及总排口水质各项指标均能达到《污水综合排放标准》(GB8978-1996)一级标准 ,Fe满足《贵州省环境污染物排放标准》(DB52/864-2013)一级标准要求。场地处理雨水通过工业场地及废石场周边截排水沟排放,废石场淋滤水经废石场拦渣坝下游淋溶水收集池收集后用管道将淋溶水池中的废水泵回调节池,在通过矿坑水污水处理设备处理达标后排放。避免淋溶水直接排放污染环境。

整改建议:

加强废石场下游淋溶水池的管理工作,定期检查维修;

定期检查污水处理设备的运行情况,杜绝污水事故排放,确保污染物长期稳定达标排放;

建立污水处理台账;

7大气环境影响调查

7.1大气环境现状调查

根据现场调查及走访周边民众可知,项目位于松桃县孟溪镇铜钱山村,矿山周边植被覆盖率高且周边无其他大型污染企业,因此,项目所处区域环境空气质量状况良好。

7.2 大气环境保护措施落实情况调查

7.2.1施工期环境保护措施调查

根据现场走访及施工监理了解,项目施工期采取的措施有:

施工道路采取定时洒水降尘措施;

混凝土搅拌机设置在专门的场所;

施工道路硬化,施工过程中加强了洒水降尘措施。

7.2.2营运期环境保护措施调查

地面储矿场建设为半封闭棚架式地面储矿场,并设置矿石装车点洒水设施;

废石场定期洒水;

运输车辆厂区道路定期洒水,运输车辆加盖篷布、控制装载量等措施。环保措施见附图6

7.2.3大气污染源

本项目废气污染源主要为地面储矿场、矿石装车场地、废石场、运输过程中产生的扬尘

7.2.4大气污染源监测

(1)监测点位

在项目下风向场界外20m范围内设置3个监控点;同时在工业场地上风向场界外20m 范围内设置 1 个参照点。具体见表7.2-1。

表7.2-1 无组织监控布点情况

编号

位置

设置原因

G1

项目上风向场界外 20m 范围内

参照点

G2

项目下风向场界外 20m 范围内

监控点

G3

项目下风向场界外 20m 范围内

监控点

G4

项目下风向场界外 20m 范围内

监控点

(2)监测因子

TSP

(3)监测时间和频次

2019年5月5日至5月6日连续监测2天,每天监测4次

(4)监测分析方法

按《大气污染物无组织排放技术导则》(HJ/T55-2000)中规定的方法进行测定,见表7.2-2。

表7.2-2 监测分析方法

检测项目

检测分析方法及来源

方法检测限

仪器名称及型号

固资编号

总悬浮颗粒物

环境空气 总悬浮颗粒物的测定 重量法GB/T15432-1995

0.001mg/m3

中流量TSP采样器-MH1200

LAS/YQ-125

LAS/YQ-126

LAS/YQ-127

LAS/YQ-128

电子天平/ BSA124S

LAS/YQ-033

(5)监测结果

从监测结果表7.2-3中可以看出,项目场界无组织排放颗粒物浓度达到《大气污染物综合排放标准》(GB16297-1996)表2中无组织排放限值 1.0mg/m3 的要求。

表7.2-3 无组织排放监测结果

样品编号

监测时间

监测点位

分析项目(mg/m3

标准限值(mg/m3

总悬浮颗粒物

HJYS2019006-G1-1-1

2019.8.5

8:00-9:00

G1

0.283

1.00

HJYS2019006-G1-1-2

11:00-12:00

0.350

HJYS2019006-G1-1-3

14:00-15:00

0.317

HJYS2019006-G1-1-4

17:00-18:00

0.150

HJYS2019006-G1-2-1

2019.8.6

8:00-9:00

0.250

HJYS2019006-G1-2-2

11:00-12:00

0.333

HJYS2019006-G1-2-3

14:00-15:00

0.183

HJYS2019006-G1-2-4

17:00-18:00

0.300

HJYS2019006-G2-1-1

2019.8.5

8:00-9:00





G2

0.427

1.00

HJYS2019006-G2-1-2

11:00-12:00

0.567

HJYS2019006-G2-1-3

14:00-15:00

0.483

HJYS2019006-G2-1-4

17:00-18:00

0.383

HJYS2019006-G2-2-1

2019.8.6

8:00-9:00

0.483

HJYS2019006-G2-2-2

11:00-12:00

0.433

HJYS2019006-G2-2-3

14:00-15:00

0.550

HJYS2019006-G2-2-4

17:00-18:00

0.467

HJYS2019006-G3-1-1

2019.8.5

8:00-9:00

G3

0.450

1.00

HJYS2019006-G3-1-2

11:00-12:00

0.533

HJYS2019006-G3-1-3

14:00-15:00

0.467

HJYS2019006-G3-1-4

17:00-18:00

0.367

HJYS2019006-G3-2-1

2019.8.6

8:00-9:00

0.500

HJYS2019006-G3-2-2

11:00-12:00

0.467

HJYS2019006-G3-2-3

14:00-15:00

0.400

HJYS2019006-G3-2-4

17:00-18:00

0.517

HJYS2019006-G4-1-1

2019.8.5

8:00-9:00

G4

0.517

1.00

HJYS2019006-G4-1-2

11:00-12:00

0.467

HJYS2019006-G4-1-3

14:00-15:00

0.483

HJYS2019006-G4-1-4

17:00-18:00

0.400

HJYS2019006-G4-2-1

2019.8.6

8:00-9:00

0.467

HJYS2019006-G4-2-2

11:00-12:00

0.417

HJYS2019006-G4-2-3

14:00-15:00

0.567

HJYS2019006-G4-2-4

17:00-18:00

0.517

监测期间气象参数见表7.2-4。

表7.2-4监测期间气象参数一览表

监测

点位

监测日期

点位编号

气温(℃)

气压(kPa)

相对湿度(%)

风速(m/s)

风向

G1

2019.8.5

08:00-09:00

HJYS2019006-G1-1-1

20.5

92.2

67

0.65

SW

11:00-12:00

HJYS2019006-G1-1-2

29.4

92.1

52

0.47

SW

14:00-15:00

HJYS2019006-G1-1-3

32.6

91.8

47

0.33

SW

17:00-18:00

HJYS2019006-G1-1-4

25.0

91.9

56

0.54

SW

2019.8.6

08:00-09:00

HJYS2019006-G1-2-1

23.9

92.3

66

0.36

SW

11:00-12:00

HJYS2019006-G1-2-2

30.6

92.0

50

0.24

S

14:00-15:00

HJYS2019006-G1-2-3

32.1

91.8

45

0.61

SW

17:00-18:00

HJYS2019006-G1-2-4

26.3

92.0

57

0.34

S

G2

2019.8.5

08:00-09:00

HJYS2019006-G2-1-1

24.8

92.3

67

0.65

SW

11:00-12:00

HJYS2019006-G2-1-2

31.3

92.1

52

0.47

SW

14:00-15:00

HJYS2019006-G2-1-3

33.7

91.8

47

0.33

SW

17:00-18:00

HJYS2019006-G2-1-4

28.9

91.9

56

0.54

SW

2019.8.6

08:00-09:00

HJYS2019006-G2-2-1

25.3

92.4

66

0.36

SW

11:00-12:00

HJYS2019006-G2-2-2

33.7

92.0

50

0.24

S

14:00-15:00

HJYS2019006-G2-2-3

34.6

91.9

45

0.61

SW

17:00-18:00

HJYS2019006-G2-2-4

29.1

92.1

57

0.34

S

G3

2019.8.5

08:00-09:00

HJYS2019006-G3-1-1

24.8

92.3

67

0.61

SW

11:00-12:00

HJYS2019006-G3-1-2

31.3

92.1

52

0.54

SW

14:00-15:00

HJYS2019006-G3-1-3

33.7

91.8

47

0.88

SW

17:00-18:00

HJYS2019006-G3-1-4

28.9

91.9

56

0.74

SW

2019.8.6

08:00-09:00

HJYS2019006-G3-2-1

25.3

92.4

66

0.26

SW

11:00-12:00

HJYS2019006-G3-2-2

33.7

92.0

50

0.38

S

14:00-15:00

HJYS2019006-G3-2-3

34.6

91.9

45

0.84

SW

17:00-18:00

HJYS2019006-G3-2-4

29.1

92.1

57

0.66

S

G4

2019.8.5

08:00-09:00

HJYS2019006-G4-1-1

24.8

92.3

67

0.59

SW

11:00-12:00

HJYS2019006-G4-1-2

31.3

92.1

52

1.23

SW

14:00-15:00

HJYS2019006-G4-1-3

33.7

91.8

47

0.47

SW

17:00-18:00

HJYS2019006-G4-1-4

28.9

91.9

56

0.52

SW

2019.8.6

08:00-09:00

HJYS2019006-G4-2-1

25.3

92.4

66

0.96

SW

11:00-12:00

HJYS2019006-G4-2-2

33.7

92.0

50

0.68

S

14:00-15:00

HJYS2019006-G4-2-3

34.6

91.9

45

0.54

SW

17:00-18:00

HJYS2019006-G4-2-4

29.1

92.1

57

0.71

S

7.3 调查小结与建议

根据对本项目工业场地周界的无组织排放监测结果。工业场地周界总悬浮颗粒物浓度监测结果均满足《大气污染物综合排放标准》(GB16297-1996)无组织排放监控浓度限值。表明矿区采取的大气污染防治措施起到了良好作用,有效防治的环境空气污染。

建议建设单位加强环保设施的日常维护,对易产生扬尘的污染源定期进行洒水降尘。同时应保持良好、平整的运输道路,减少运输车辆的扬尘。

8声环境影响调查

8.1 声环境保护措施落实情况调查

8.1.1施工期环境保护措施调查

根据现场走访及施工监理了解,为使周边环境及工作人员少受干扰,项目施工期对设备定期维修、养护,减少机械设备噪声,按照规定操作机械,对闲置不用的设备及时关闭,运输车辆途径村民点时禁止鸣笛;优化作业时间,夜间不施工。

8.1.2.营运期环境保护措施调查

调试期间贵州松桃金瑞锰业有限公司松桃县白石溪锰矿采取的噪声防治措施如下:

通风机进风道采用混凝土结构,出风道内衬吸声衬板,扩散口安装片式消声器;

压风机房建筑采取隔声措施,压风管道外敷吸声材料;

材料加工房和机修车间夜间停止工作,电锯降噪处理,机修车间尽量减少冲击性工艺;

房屋维护结构隔声,水泵做减震基础,管道采用可曲扰橡胶接头;

工业场地增加绿化面积,通过绿化降噪。

8.2污染源调查

主要噪声源有:矿山各场地内的压风机房、绞车房、水泵房和通风机等产生的空气动力噪声;机修车间机修设备产生的机械噪声等。

8.3 厂界噪声监测

(1)监测点位

共布设4个监测点,即工业场地厂界外 1m 处(监测期间,应注意避免外界环境噪声的干扰)。详见表 8.3-1。

表8.3-1 厂界噪声监测布点情况

编号

位置

设置原因

N1

项目场界外北侧 1m 处


监测厂界噪声

N2

项目场界外东侧 1m 处

N3

项目场界外南侧 1m 处

N4

项目场界外西侧 1m 处

(2)监测因子

等效连续A声级(LAeq)。

(3)监测频次

2019年5月5日至5月6日连续监测 2 天,昼间 1 次。

(4)监测方法

按《工业企业厂界环境噪声排放标准》(GB12348-2008)要求进行。见表8.3-2

表8.3-2 监测分析方法

检测项目

检测分析方法及来源

方法检测限

仪器名称/型号

仪器编号

厂界噪声

工业企业厂界环境噪声排放标准 GB 12348-2008

-

噪声频谱分析仪/ HS6288B

LAS/YQ-041

(5)监测结果

根据监测结果,项目厂界四周昼间厂界噪声均能满足《工业企业厂界环境噪声排放标准》(GB12348-2008)相关要求。监测结果见表8.3-3。

表8.3-3 厂界噪声监测结果表

样品编号

监测日期

监测点位

噪声类型

分析项目

检测结果

标准限值

HJYS2019006-N1-1-1

2019.8.5


厂界东面N1

工业厂界噪声

LeqdB(A)

58.1

60

HJYS2019006-N2-1-1

厂界面N2

50.7

HJYS2019006-N3-1-1

厂界西面N3

51.4

HJYS2019006-N4-1-1

厂界面 N4

53.9

HJYS2019006-N1-2-1

2019.8.6


厂界东面N1

工业厂界噪声

LeqdB(A)

56.6

60

HJYS2019006-N2-2-1

厂界面N2

56.1

HJYS2019006-N3-2-1

厂界西面N3

54.7

HJYS2019006-N4-2-1

厂界面 N4

54.6

备注:执行《工业企业厂界环境噪声排放标准》(GB12348-2008)2类标准;

     检测报告见附件11。

8.4调查小结与建议.

建设单位在施工期和运营期基本按照环评的要求,采取了有效的预防和防治噪声污染措施,对压风机房、水泵等主要产噪设备设施进行了噪声治理。通过对项目厂界的噪声监测结果可知,昼间项目厂界噪声均能满足《工业企业厂界环境噪声排放标准》(GB12348-2008)2 类标准要求。

建议建设单位加强管理,保证降噪设施的长期有效运行,确保项目生产过程中产生的噪声能够达标排放,减少对周边声环境的影响。

9固体废弃物环境影响调查

9.1固体废弃物污染源调查

根据现场调查,项目营运期固体废物主要包括废石、生活垃圾、生活污水处理站污泥、机修车间废机油及油泥。

9.2 固体废物处置方式

1)项目产生废石堆放在废石场,废石场设置拦渣坝,周边设置截排水沟,拦渣坝下游设置100m3淋溶水池1座;

(2)项目产生的生活垃圾分类收集于矿区垃圾桶,并定期运往松桃县垃圾填埋场统一处置;

(3)生活污水处理站污泥经消毒干化后与生活垃圾一并运往松桃县垃圾填埋场处置;

(4)矿坑水处理站污泥经干化后,掺入矿石外售;

(5)机修车间废机油及油泥统一收集于废机油暂存间,并铺设消防砂避免油品泄入外环境。收集的废机油定期委托遵义市万润工贸有限公司处置。危废处置协议见附件6。

9.3 调查小结

本矿山固体废物污染防治措施落实基本良好,达到了环境影响报告书及环评批复的要求。废石场已建成,占地6.25hm2;废石场已建成拦渣坝,拦渣坝下游建设有淋溶水池(100m3);项目工业场地及办公生活区均设置有垃圾桶,生活垃圾经垃圾桶统一收集后定期运往松桃县垃圾填埋场统一处置;矿坑水处理站污泥经干化后,掺入矿石外售;机修车间废机油及油泥统一收集于危废暂存间后委托遵义万润工贸有限公司处置。危废处置协议见附件6。矿山固体废物处置后对环境影响较小。

10环境管理及监测计划调查

10.1环境管理落实情况调查

试运行阶段贵州松桃金瑞锰业有限责任公司松桃县白石溪锰矿各级领导高度重视环保工作。设立了专职负责安全与环保的安环处,负责环保工作的落实、监督、检查等管理工作。

本项目环境管理的职责和范围明确,其主要内容包括:

(1)贯彻执行各项环境保护政策、法规和标准。

(2)制定各部门环境保护管理职责条例;制定环保设施及污染物排放管理监督办法;建立环境及污染源监测及统计,“三级监控”体系管理制度;组织企业水土保持监测工作,接受水行政主管部门指导;建立环保工作目标考核制度。

(3)根据政府及环保部门提出的环境保护要求(如总量控制指标,达标排放等),制定企业实施计划;做好矿山污染物控制,确保环保设施正常运行。

(4)建立污染源档案,定期统计本矿山的污染物产生及排放情况;污染防治及综合利用情况,按排污申报制度规定,定期上报当地环保行政管理部门。

(5)制定可行的应急计划,并检查执行情况,确保生产事故或污染治理设施出现故障时,不对环境造成严重污染。

(6)开展环保教育和培训,提高企业员工的环保素质。

(7)组织开展环保研究和学术交流,推广并应用先进环保技术。

(8)负责厂区绿化和日常环境保护的管理工作。

10.2环境监测计划落实情况调查

在项目试生产期间,建设单位还未委托监测机构对项目产生污染源进行监测。建设单位已自行修编突发环境时间应急预案,应急预案备案表见附件12。

10.3调查小结与建议

通过研阅相关资料和现场调查可以看出,本项目在建设、运营阶段对环境保护工作比较重视,管理机构已建立,环境管理职责明确, 符合环保管理要求。建议按环评要求开展日常环境监测工作。

11公众意见调查

11.1调查目的

贵州松桃金瑞锰业有限责任公司松桃县白石溪锰矿(延续、变更)为了了解项目设计、建设过程中的环保工作是否完备,了解项目施工期、营运期受影响区域公众的意见和要求,以便提出合理的对策建议,促进建设单位进一步改进和完善项目环境保护工作,本次竣工验收调查根据项目周边实际情况以问卷调查的方式进行了公众意见调查。

11.2 调查对象、方法及内容

本次公众意见调查主要在项目周边进行调查,具体个人调查名单见表11-1,团体调查名单见表11-2。采用表11-3及表11-4对周边居民及单位进行调查和意见征询。

表11-1 项目公众参与统计表(个人)

序号

姓名

性别

年龄

职业

文化程度

住址/单位

联系电话

1

陈毅

38

砂工

/

孟溪镇铜钱山村

18050570645

2

石忠光

53

司机

/

孟溪镇铜钱山村

15117747355

3

栗水香

43

计量员

初中及以下

孟溪镇铜钱山村

18747881780

4

周继斌

55

保安

/

孟溪镇铜钱山村

15885778688

5

王兵

30

司机

/

孟溪镇铜钱山村

18286671308

6

杨胜祥

50

保安

/

孟溪镇铜钱山村

18008569677

7

李密

38

司机

/

孟溪镇铜钱山村

/

8

郭利军

53

安全员

/

孟溪镇铜钱山村

/

9

石忠贵

39

司机

高中

孟溪镇铜钱山村

/

10

刘发权

56

钻工

/

孟溪镇铜钱山村

/

11

姚秀松

36

砂工

/

孟溪镇铜钱山村

/

12

杨继军

47

司机

/

孟溪镇铜钱山村

/

13

刘操

47

钻工

初中及以下

孟溪镇铜钱山村

/

14

李着鲜

48

钻工

初中及以下

孟溪镇铜钱山村

/

15

姚自胡

49

钻工

初中及以下

孟溪镇铜钱山村

/

16

石秀林

49

钻工

初中及以下

孟溪镇铜钱山村

/

17

曹华

44

管理

大专及以上

孟溪镇铜钱山村

15985625192

18

舒招财

35

扒电

/

孟溪镇铜钱山村

18772291801

19

杨正元

55

修路

/

孟溪镇铜钱山村

/

20

龙昌培

44

钻工

/

孟溪镇铜钱山村

19985461300

21

舒博尚

56

泵工

/

孟溪镇铜钱山村

18285694117

22

李运珠

54

维修

/

孟溪镇铜钱山村

18390910223

23

刘应德

44

钻工

/

孟溪镇铜钱山村

15696269126

24

何阳林

45

管理

大专及以上

孟溪镇铜钱山村

13638141079

25

张如忠

41

司机

/

孟溪镇铜钱山村

18311760840

26

陈世周

57

保管

/

孟溪镇铜钱山村

15185994391

27

姚胜海

37

司机

/

孟溪镇铜钱山村

18885645398

28

龙江民

31

渣工

/

孟溪镇铜钱山村

15185918415

29

陈军

51

钻工

/

孟溪镇铜钱山村

/

30

张泽胜

39

钻工

/

孟溪镇铜钱山村

/

31

卢国保

38

司机

/

孟溪镇铜钱山村

/

32

杨勇江

26

司机

大专及以上

孟溪镇铜钱山村

/

33

龙天和

43

钻工

/

孟溪镇铜钱山村

/

34

郑代铁

48

调度

/

孟溪镇铜钱山村

/

35

毛永军

54

砂工

/

孟溪镇铜钱山村

/

36

刘银发

47

钻工

/

孟溪镇铜钱山村

/

37

覃举平

47

钻工

/

孟溪镇铜钱山村

/

38

郑时容

23

放矿

/

孟溪镇铜钱山村

18390910223

39

张杰

21

砂工

/

孟溪镇铜钱山村

/

40

张飞勇

42

钻工

/

孟溪镇铜钱山村

/

41

符拜海

50

司机

初中及以下

孟溪镇蛤蟆村

18385945549

42

杨林旺

50

钻工

/

孟溪镇坪南村

/

43

张云江

40

钻工

/

孟溪镇铜钱山村

/

44

李文

38

司机

/

孟溪镇铜钱山村

/

45

龙少成

36

安全员

大专及以上

孟溪镇铜钱山村

18188161513

46

陈先进

20

安全员

高中

孟溪镇铜钱山村

13548237783

47

李博军

51

安全员

初中及以下

孟溪镇铜钱山村

13765636661

48

石文兵

39

钻工

/

孟溪镇铜钱山村

18385882267

49

张建军

52

安全员

/

孟溪镇铜钱山村

18285641386

50

杨文学

36

保管员

/

孟溪镇铜钱山村

13885663252


表11-2 项目公众参与统计表(团体)

序号

单位名称

单位性质

地址

1

松桃苗族自治县孟溪镇铜钱山村村民委员会

自治组织

孟溪镇铜钱山村

2

松桃苗族自治县孟溪镇安全生产监督管理站

自治组织

孟溪镇

3

松桃苗族自治县孟溪镇农业服务中心

自治组织

孟溪镇

4

松桃苗族自治县孟溪片区水务服务中心

自治组织

孟溪镇

5

松桃苗族自治县孟溪村镇规划建设站

自治组织

孟溪镇

6

松桃众泰运输有限公司

私企

孟溪镇





11-3贵州松桃金瑞松桃县白石溪竣工环境保护验收公众参与调查统计表(个人)

姓名


性别

□ 男

□ 女

年龄


职业


民族


受教育程度

□大专及以上   □高中

□初中及以下

住址


电话


项目基本情况

《贵州松桃金瑞锰业有限责任公司松桃县白石溪锰矿(延续、变更)(建设规模10万t/a)》于2019年2月由宁夏智诚安环技术咨询有限公司编制完成,2019年3月29日取得贵州省生态环境厅黔环审[2019]21号文批复。

项目生活污水通过一体化污水处理设施处理满足《污水综合排放标准》(GB8978-1996)一级标准要求后排放;矿坑水经调节池、一级曝气、混凝沉淀、一级锰砂过滤等工艺(一体化)处理达《污水综合排放标准》(GB8978-1996)一级标准要求(Fe满足《贵州省环境污染物排放标准》(DB52/864-2013))要求后排放,对环境影响较小;

项目地面储矿场、装车场扬尘通过洒水抑尘。对环境影响较小;

项目生活垃圾统一收集后送往指定垃圾堆放处处置。机修车间废机油统一收集于废机油暂存间定期交由资质单位处理,对环境影响较小;

项目选用低噪声设备、增加绿化面积等措施降低噪声,对环境影响较小。

调查

内容

噪声对您的影响程度

□没有影响

□影响较轻

□影响较重

粉尘对您的影响程度

□没有影响

□影响较轻

□影响较重

废水对您的影响程度

□没有影响

□影响较轻

□影响较重

是否有扰民现象或纠纷

□有

□没有

——

试生产期

废气对您的影响程度

□没有影响

□影响较轻

□影响较重

废水对您的影响程度

□没有影响

□影响较轻

□影响较重

噪声对您的影响程度

□没有影响

□影响较轻

□影响较重

固体废物运输处置过程对您的影响程度

□没有影响

□影响较轻

□影响较重

是否发生过环境污染事故(如有,请注明事件经过)

□有

□没有

——

您对本项目环境工作满意程度

□满意

□较满意

□不满意

(具体描述)

您对本项目的建议和意见

















11-4贵州松桃金瑞松桃县白石溪竣工环境保护验收公众参与调查统计表(团体)

单位名称


地址


电话


项目基本情况

《贵州松桃金瑞锰业有限责任公司松桃县白石溪锰矿(延续、变更)(建设规模10万t/a)》于2019年2月由宁夏智诚安环技术咨询有限公司编制完成,2019年3月29日取得贵州省生态环境厅黔环审[2019]21号文批复。

项目生活污水通过一体化污水处理设施处理满足《污水综合排放标准》(GB8978-1996)一级标准要求后排放;矿坑水经调节池、一级曝气、混凝沉淀、一级锰砂过滤等工艺(一体化)处理达《污水综合排放标准》(GB8978-1996)一级标准要求(Fe满足《贵州省环境污染物排放标准》(DB52/864-2013))要求后排放,对环境影响较小;

项目地面储矿场、装车场扬尘通过洒水抑尘。对环境影响较小;

项目生活垃圾统一收集后送往指定垃圾堆放处处置。机修车间废机油统一收集于废机油暂存间定期交由资质单位处理,对环境影响较小;

项目选用低噪声设备、增加绿化面积等措施降低噪声,对环境影响较小。

调查

内容

噪声对您的影响程度

□没有影响

□影响较轻

□影响较重

粉尘对您的影响程度

□没有影响

□影响较轻

□影响较重

废水对您的影响程度

□没有影响

□影响较轻

□影响较重

是否有扰民现象或纠纷

□有

□没有

——

试生产期

废气对您的影响程度

□没有影响

□影响较轻

□影响较重

废水对您的影响程度

□没有影响

□影响较轻

□影响较重

噪声对您的影响程度

□没有影响

□影响较轻

□影响较重

固体废物运输处置过程对您的影响程度

□没有影响

□影响较轻

□影响较重

是否发生过环境污染事故(如有,请注明事件经过)

□有

□没有

——

您对本项目环境工作满意程度

□满意

□较满意

□不满意

(具体描述)

您对本项目的建议和意见


11.3调查结果统计与分析

本次公众意见调查共发放居民意见调查表50份,回收50份,回收率100%。单位意见调查表6份,回收6份,回收率100%。

11.4 公众参与调查结论

验收调查期间走访了项目周边区域居民点,通过对50份个人参与调查统计显示,男性占98%,女性占2%;35岁以下(不含35)人员占12%;35岁至50岁(不含50)人员占58%;50岁以上人员占30% ;该部分居民对本项目环保方面的意见统计见表11.4-1;团体对本项目环保方面的意见统计见表11.4-2。





表11.4-1 贵州松桃金瑞松桃县白石溪竣工环境保护验收公众参与调查统计表(个人)

噪声对您的影响程度

没有影响

(26%)

影响较轻

(74%)

影响较重

(0)

粉尘对您的影响程度

没有影响

(52%)

影响较轻

(48%)

影响较重

(0)

废水对您的影响程度

没有影响

(54%)

影响较轻

(46%)

影响较重

(0)

是否有扰民现象和纠纷

(0)

没有

(100%)

--






粉尘对您的影响程度

没有影响

(88%)

影响较轻

(22%)

影响较重

(0)

废水对您的影响程度

没有影响

(100%)

影响较轻

(0)

影响较重

(0)

噪声对您的影响程度

没有影响

(98%)

影响较轻

(2%)

影响较重

(0)

固体废物运输处置对您的影响程度

没有影响

(98%)

影响较轻

(2%%)

影响较重

(0)

是否发生过环境污染事件(如有,请注明时间经过)


(0)


没有

(100%)


--

您对本项目环境工作满意程度


满意

(98%)


较满意

(2%)


不满意

(0)


表11.4-2 贵州松桃金瑞松桃县白石溪竣工环境保护验收公众参与调查统计表(团体)


噪声对您的影响程度

没有影响

(100%)

影响较轻

(0)

影响较重

(0)

粉尘对您的影响程度

没有影响

(100%)

影响较轻

(0)

影响较重

(0)

废水对您的影响程度

没有影响

(100%)

影响较轻

(0)

影响较重

(0)

是否有扰民现象和纠纷

没有影响

(100%)

影响较轻

(0)

影响较重

(0)






粉尘对您的影响程度

没有影响

(100%)

影响较轻

(0)

影响较重

(0)

废水对您的影响程度

没有影响

(100%)

影响较轻

(0)

影响较重

(0)

噪声对您的影响程度

没有影响

(100%)

影响较轻

(0)

影响较重

(0)

固体废物运输处置改变对您的影响程度

没有影响

(100%)

影响较轻

(0)

影响较重

(0)

是否发生过环境污染事件(如有,请注明时间经过)


(0)


没有

(100%)


/

您对本项目环境工作满意程度


满意

(100%)


较满意

(0)


不满意

(0)

通过表11.4-1及11.4-2的统计情况可知,参与调查的50名居民中有98%的居民对本项目环境工作满意,2%的居民表示对本项目环境工作较满意,无居民表示不满意;参与调查的6个团体中100%的团体对本项目环境工作满意,无团体表示不满意。

关于施工期环境影响调查情况如下:噪声有26%的居民表示没有影响,74%居民表示有轻微影响,无居民表示影响较重;粉尘52%的居民表示没有影响,48%居民表示影响较轻或较重;废水54%对的居民表示没有影响,46%居民表示影响较轻或影响较重。通过调查施工期未出现扰民现象或纠纷。由此可知,本项目在施工期间环境保护措施可能未较好的按照环境影响报告书中的要求落实。

关于运行期环境影响调查情况如下:粉尘有88%的居民表示没有影响,22%居民表示有轻微影响,无居民表示影响较重;废水有100%的居民表示没有影响,无居民表示影响较轻,无居民表示影响较重;噪声有98%的居民表示没有影响,2%居民表示影响较轻,无居民表示影响较重;固体废物运输处置有98%的居民表示没有影响,2%的居民表示影响较轻。通过调查运行期间未发现环境污染事故。由此可知,项目调试运行期间洒水设施、污水处理设施、噪声环境保护措施以及固体废物处置措施较好的按照环境影响报告书及批复要求落实。

12调查结论与建议

12.1 工程概况

贵州松桃金瑞锰业有限责任公司松桃县白石溪锰矿(延续、变更)项目(开采规模10万t/a)主要环保工程建设内容包括矿坑水处理站、工业场地周边截排水沟、废石场拦渣坝、废石场烂渣坝下游淋溶水收集池、废石场淋溶水复用管道、在线监控系统、半封闭棚架式地面储矿场、废机油暂存间等。

本矿山劳动定员总人数为50人,其中生产人员38人,管理人员5人,其他人员7人。本项目建设总投资1984.88万元,环保工程投资162.3万元,项目环保工程投资占项目基建总投资的比例为8.18%。

本项目工程于2019年3月29日取得贵州省生态厅“黔环审[2019]21号”批复,项目工程于2019年4月开工建设,2019年7月15日竣工并投入运行。

12.2环境保护措施落实情况

项目根据环境影响报告书提出的环境保护措施及环保主管部门的要求基本落实了各项环境保护措施。

按照环评和批复要求,矿区已修建矿坑水处理设施(调节池+混凝沉淀+一级曝气+一级锰砂过滤工艺);

由于原生活污水处理设施处理效率不佳,矿山自主安装一套生活污水处理设施;场地初期雨水通过工业场地周边截排水沟流入收集池后排放;废石场拦渣坝下游设置淋溶水收集池(100m3);淋溶水通过废石场淋滤水复用管道泵回调节池经矿坑水处理设施处理;排水口安装自动在线监控系统;

工业场地内储矿场采用半封闭棚架式结构,工业场地道路硬化,四周设置截排水沟;

原有648工业场地已关闭,原648工业场地职工基本搬至618工业场地;

废石场及地面储矿场、装车场地定期洒水降尘;

废石场设置拦渣坝,周边设有截排水沟;工业场地设置垃圾桶;矿区已建设有废机油暂存间;

对各噪声设备采取了降噪措施,工业场地周边及道路两旁均进行了覆土绿化。公司已设置了环保机构,对各类污染源进行了定期监测,环境规章制度健全,环境管理较完善。

12.2.1施工期环境影响调查

按照环境影响报告书及批复的要求,工程在施工期间加强了对施工单位的环境管理,采取了有效的降尘、降噪措施,施工废水、生活垃圾和建筑垃圾按照规定均得到有效处理。本工程地面施工活动相对集中,占地均集中工程征地范围内,对周围环境影响不大,施工期间未发生环保投诉事件。

12.2.2生态环境影响调查

本项目对生态环境的影响主要体现在项目的施工期,现场调查结果表明:本项目施工管理较为完善,施工期采取的措施有:

(1)工程施工时尽可能的较少临时占地,基本利用原来的场地;

(2)矿山成立安全环保科负责矿山的环保管理工作,监督落实施工期生态防护与恢复措施;

(3)施工期加强水土保持工作,在工业场地及道路两侧种植树木,增加绿化面积,工业场地四周修建截排水沟;

(4)施工过程中产生的土石方及表面剥离物及时清运,集中堆放。

12.2.3水环境影响调查

项目营运期水污染源主要包括矿坑水、矿区职工生活污水、场地初期雨水及废石场淋滤水。

根据验收监测结果,本次验收监测中生活污水处理设备、矿坑水处理设备出水口及总排口水质各项指标均能达到《污水综合排放标准》(GB8978-1996)一级标准,Fe满足《贵州省环境污染物排放标准》(DB52/864-2013)一级标准要求。场地处理雨水通过工业场地及废石场周边截排水沟排放,废石场淋滤水经废石场拦渣坝下游淋溶水收集池收集后用管道将淋溶水池中的废水泵回调节池,在通过矿坑水污水处理设备处理达标后排放。项目废水采取措施后对环境影响较小。

12.2.4大气环境影响调查

项目运营期主要的大气污染物为地面储矿场、装车场地及废石场扬尘。项目配备洒水管道对场地进行洒水抑尘。经验收监测结果显示,项目的无组织排放颗粒物浓度达到《大气污染物综合排放标准》(GB16297-1996)表 2 中无组织排放限值1.0mg/m3的要求。项目的无组织排放对周边环境空气质量影响较小。

建议建设单位加强环保设施的日常维护,对易产生扬尘的污染源定期进行洒水降尘。同时应保持良好、平整的运输道路,减少运输车辆的扬尘。

12.2.5声环境影响调查

建设单位在施工期和运营期基本按照环评的要求,采取了有效的预防和防治噪声污染措施,对通风机进风道、压风机房等主要产噪设备设施进行了噪声治理。通过对项目场界的噪声监测结果可知,昼间场界噪声均能满足《工业企业厂界环境噪声排放标准》(GB12348-2008)2 类标准要求。

建议建设单位加强管理,保证降噪设施的长期有效运行,确保项目生产过程中产生的噪声能够达标排放,减少对周边声环境的影响。

12.2.6固体废物影响调查

项目营运期主要固废废石、生活垃圾、生活污水处理站污泥、矿坑水处理站污泥、机修车间废机油及油泥;废石统一运往废石场堆存;生活垃圾设置垃圾桶分类收集后统一运往松桃县垃圾填埋场处置;生活污水处理站污泥消毒干化后与生活垃圾统一运往松桃县垃圾填埋场处置;矿坑水处理站污泥经干化后掺入矿石外售;机修车间废机油及油泥统一暂存于废机油暂存间后定期委托遵义万润工贸有限公司清运处置;危废处置协议见附件6。总体而言、固体废物对环境影响较小。

12.2.7环境管理状况调查

通过研阅相关资料和现场调查可以看出,本项目在建设、运营阶段对环境保护工作比较重视,管理机构已建立,环境管理职责明确, 符合环保管理要求。建议按环评要求开展日常环境监测工作。

12.3验收结论

综上所述,贵州松桃金瑞锰业有限责任公司松桃县白石溪锰矿基本按照环评阶段的规模、工艺和环保措施进行建设,同时进行了相应的优化设计(不属于重大变更),对环境影响范围和程度得到有效控制。工程环境保护手续齐全,工程建设过程中总体按照建设项目环境保护管理“三同时”制度落实了环评及批复文件提出的各项生态保护和污染防治措施。贵州松桃金瑞锰业有限责任公司松桃县白石溪锰矿相关环保工程已具备验收条件,我公司建议同意通过贵州松桃金瑞锰业有限责任公司松桃县白石溪锰矿(延续、变更)项目竣工环境保护验收。

12.4建议

(1)建设单位应加强工业场地的绿化和已实施的植物措施的后期管护力度和工程措施的后期管护工作,落实经常性的检查制度,对损坏的工程措施及时进行修复;
    (2)加强污水处理设施的环境管理,杜绝污水事故排放;
    (3)做好日常环境监测管理,密切关注矿井水处理站在线监测结果,根据处理效果在后期调整处理工艺和处理规模,并报环保部门备案;
    (4)进一步落实场内运输粉尘污染,加强干燥季节场内防尘洒水措施;
   
(5)加强对运输车辆的运行管理,采取经过村寨时不鸣号,白班运输,修整路面,降低汽车速度等方法降低噪声对敏感点噪声;

(6)要求严格按照《排污单位环境管理台账及排污许可证执行报告技术规范总则(试行》》要求严格执行环境管理台账记录内容、排污许可证年度执行报告等;


(7)进一步落实环境风险防范措施,每年开展一次突发环境专项应急预案演练,且突发环境事件风险应急预案应定期进行修订;


(8)松桃县白石溪锰矿尚未对水污染源、大气污染源、噪声和居民水源等监测计划开展监测,在今后的生产中应按照监测计划要求定期开展环境监测;

(9)定期向社会公开公示建设项目的环境管理信息;

(10)下一阶段因矿山开采引起地表裂缝、塌陷区时,应及时修复、回填,并进行绿化,防止地质灾害的发生并减轻水土流失。严禁超界开采,并在开采过程中强化生态保护和恢复措施。及时开展沉陷区的土地整治与土地复垦工作。对于在矿山开采过程中受到地表沉陷影响的居民住宅,应随开采进度提前采取维护加固、维修、搬迁等措施,确保居民生产、生活不受影响。对于受到沉陷影响的耕地和有林地,应及时进行复垦和生态综合整治。对于受到破坏的耕地,应根据受破环的程度给予经济补偿。


版权:贵州朗洲安全科技有限公司
联系地址:贵州省贵阳市观山湖区麒龙商务港A座1栋18楼